Официальное опубликование правовых актов
ОФИЦИАЛЬНОЕ ОПУБЛИКОВАНИЕ
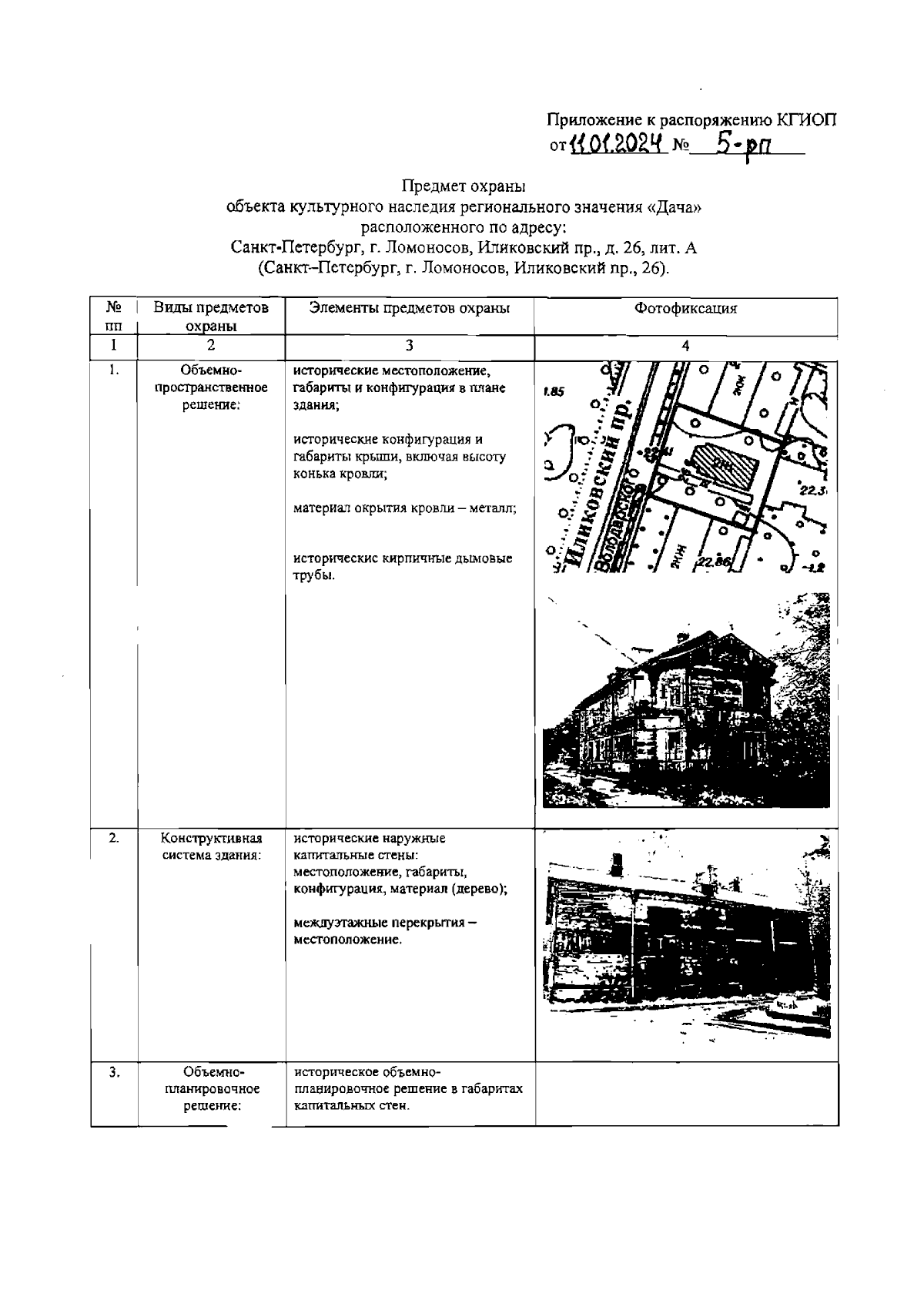
Распоряжение Комитета по государственному контролю, использованию и охране памятников истории и культуры Санкт-Петербурга от 11.01.2024 № 5-рп
"Об утверждении предмета охраны объекта культурного наследия регионального значения "Дача"
(Зарегистрирован 11.01.2024 № 36720)
Номер опубликования: 7801202401150008
Дата опубликования: 15.01.2024
Страница №2 из 3:
Увеличить