Официальное опубликование правовых актов
ОФИЦИАЛЬНОЕ ОПУБЛИКОВАНИЕ
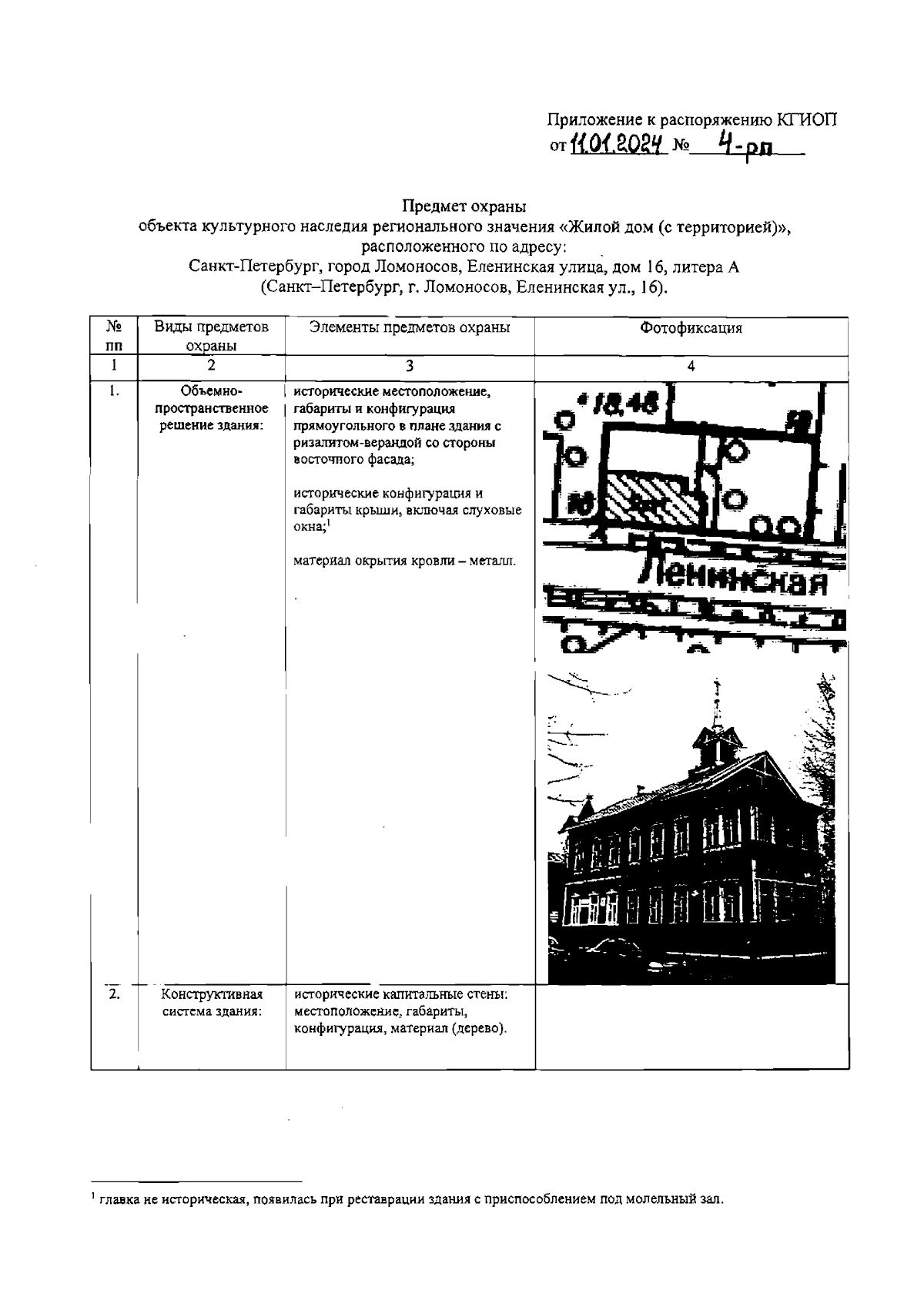
Распоряжение Комитета по государственному контролю, использованию и охране памятников истории и культуры Санкт-Петербурга от 11.01.2024 № 4-рп
"Об утверждении предмета охраны объекта культурного наследия регионального значения "Жилой дом (с территорией)"
(Зарегистрирован 11.01.2024 № 36717)
Номер опубликования: 7801202401120006
Дата опубликования: 12.01.2024
Страница №2 из 4:
Увеличить