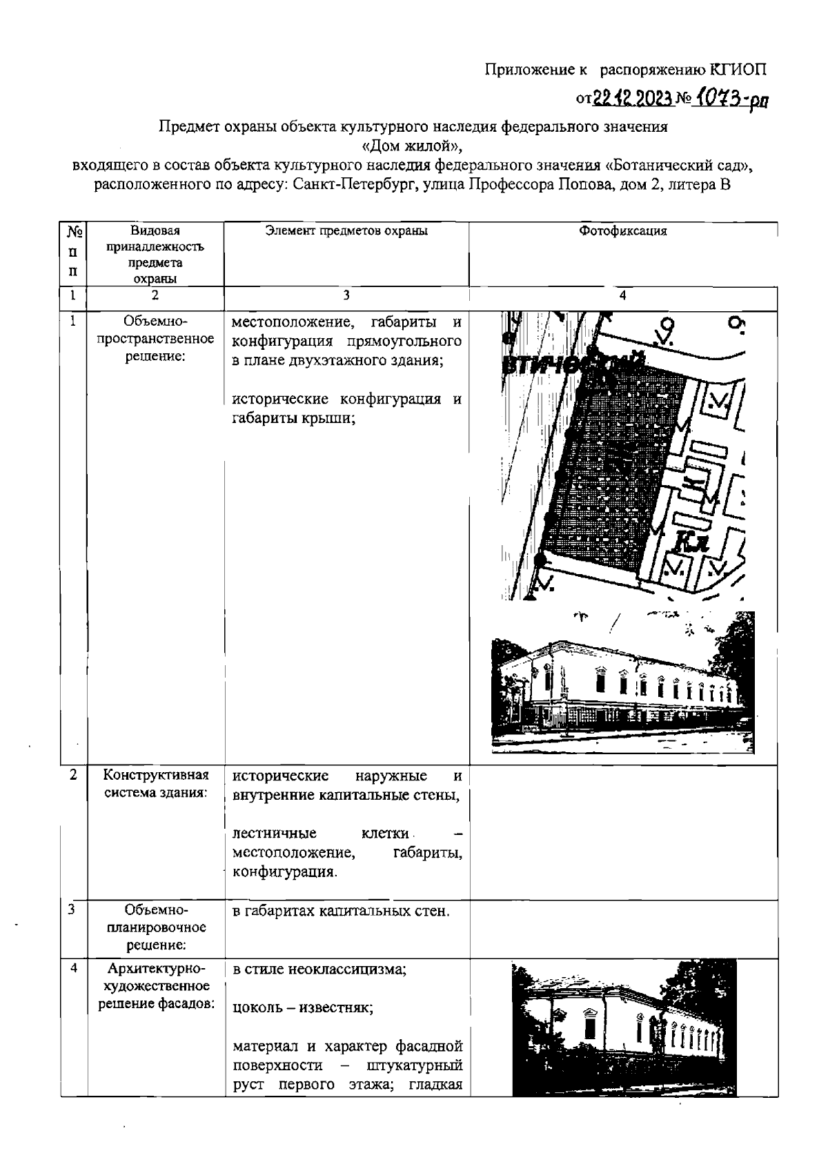
Распоряжение Комитета по государственному контролю, использованию и охране памятников истории и культуры Санкт-Петербурга от 22.12.2023 № 1073-рп
"Об утверждении предмета охраны объекта культурного наследия федерального значения "Дом жилой "штатных сотрудников сада", входящего в состав объекта культурного наследия федерального значения "Ботанический сад"
(Зарегистрирован 26.12.2023 № 36632)
"Об утверждении предмета охраны объекта культурного наследия федерального значения "Дом жилой "штатных сотрудников сада", входящего в состав объекта культурного наследия федерального значения "Ботанический сад"
(Зарегистрирован 26.12.2023 № 36632)
Номер опубликования: 7801202312290070
Дата опубликования:
29.12.2023
