Официальное опубликование правовых актов
ОФИЦИАЛЬНОЕ ОПУБЛИКОВАНИЕ
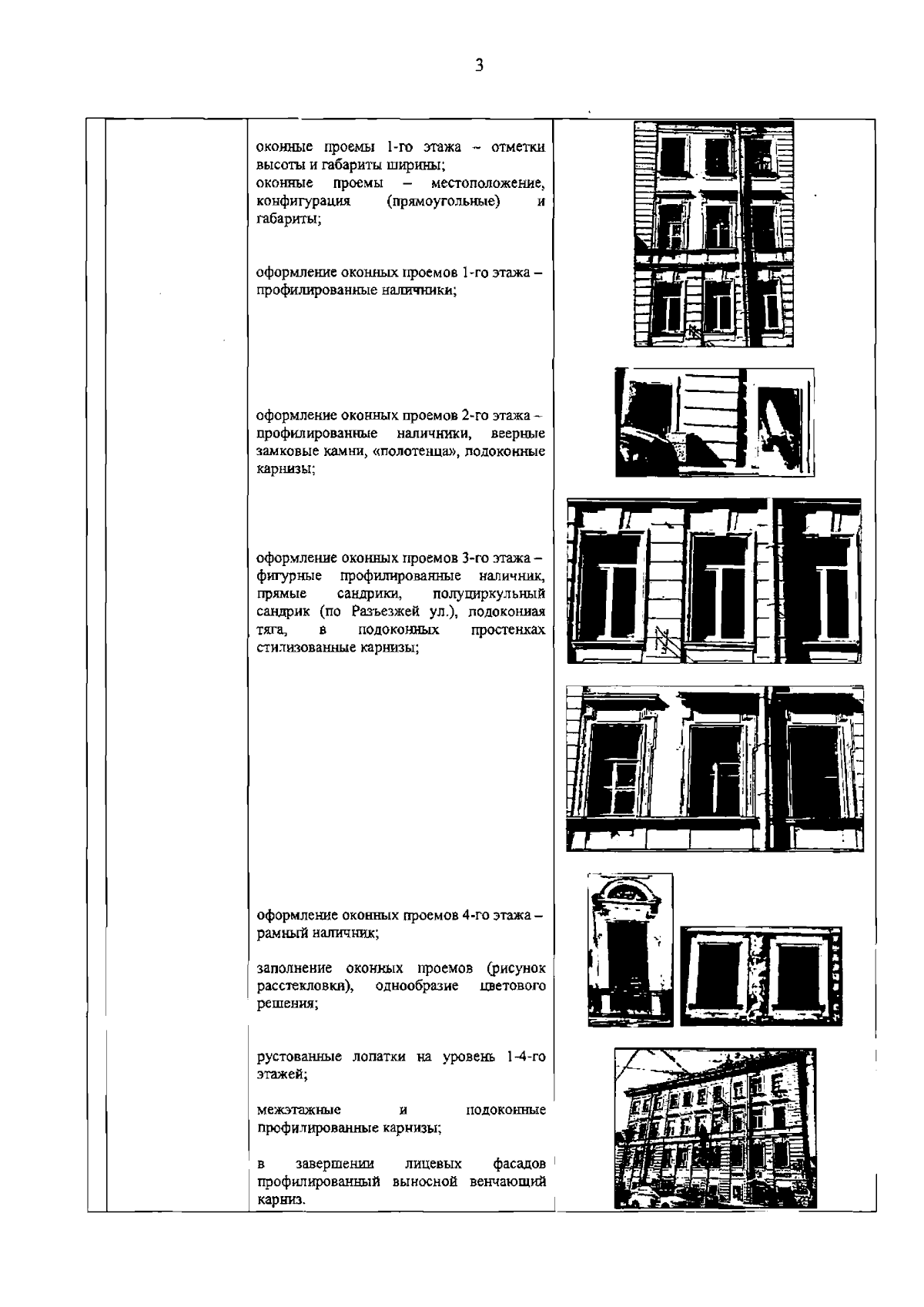
Распоряжение Комитета по государственному контролю, использованию и охране памятников истории и культуры Санкт-Петербурга от 21.12.2023 № 1058-рп
"Об утверждении предмета охраны выявленного объекта культурного наследия "Дом Альбрехта"
(Зарегистрирован 22.12.2023 № 36585)
Номер опубликования: 7801202312290051
Дата опубликования: 29.12.2023
Страница №4 из 4:
Увеличить