Официальное опубликование правовых актов
ОФИЦИАЛЬНОЕ ОПУБЛИКОВАНИЕ
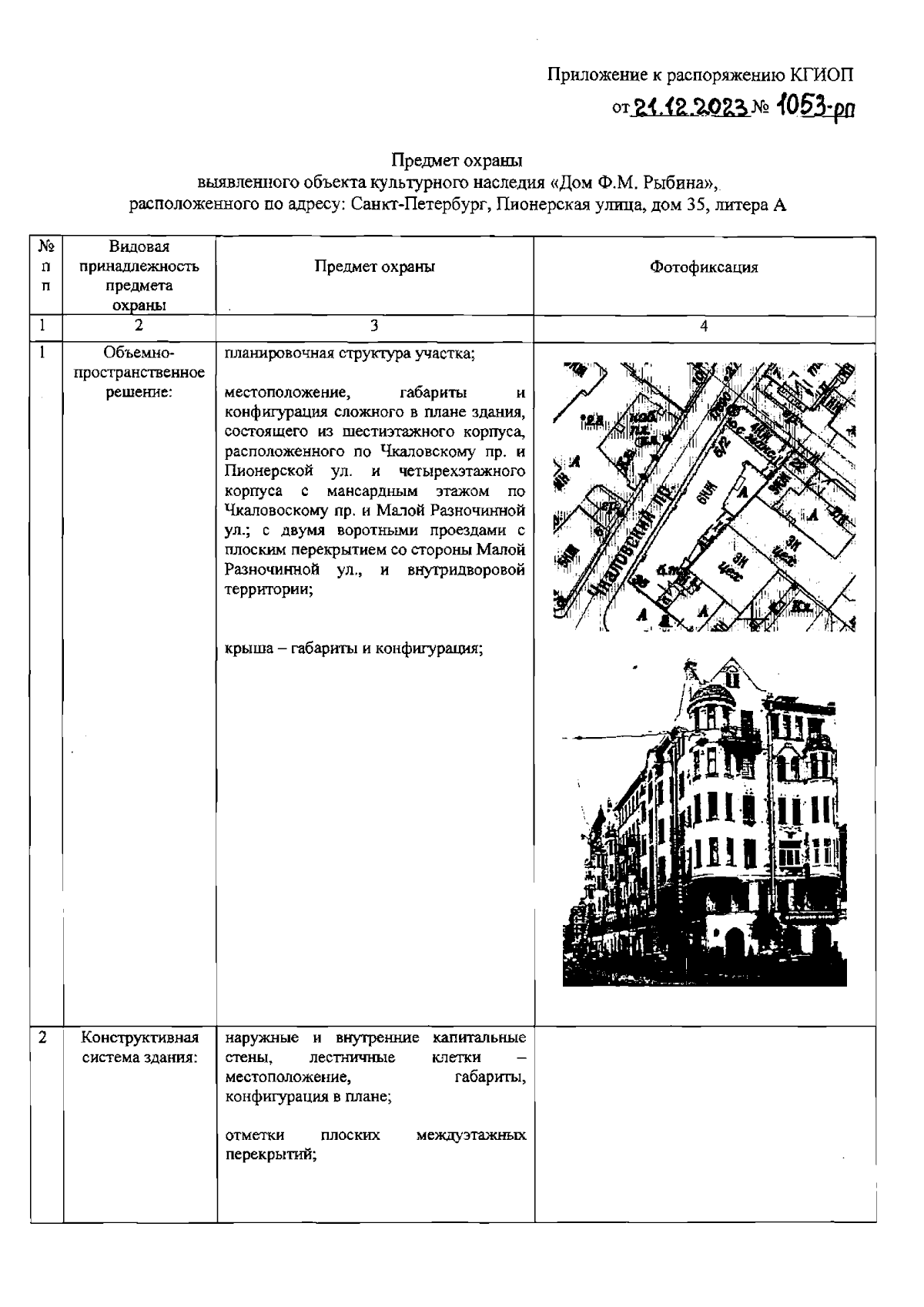
Распоряжение Комитета по государственному контролю, использованию и охране памятников истории и культуры Санкт-Петербурга от 21.12.2023 № 1053-рп
"Об утверждении предмета охраны выявленного объекта культурного наследия "Дом Ф.М. Рыбина"
(Зарегистрирован 22.12.2023 № 36580)
Номер опубликования: 7801202312290042
Дата опубликования: 29.12.2023
Страница №2 из 10:
Увеличить