Распоряжение Комитета по государственному контролю, использованию и охране памятников истории и культуры Санкт-Петербурга от 21.12.2023 № 1050-рп
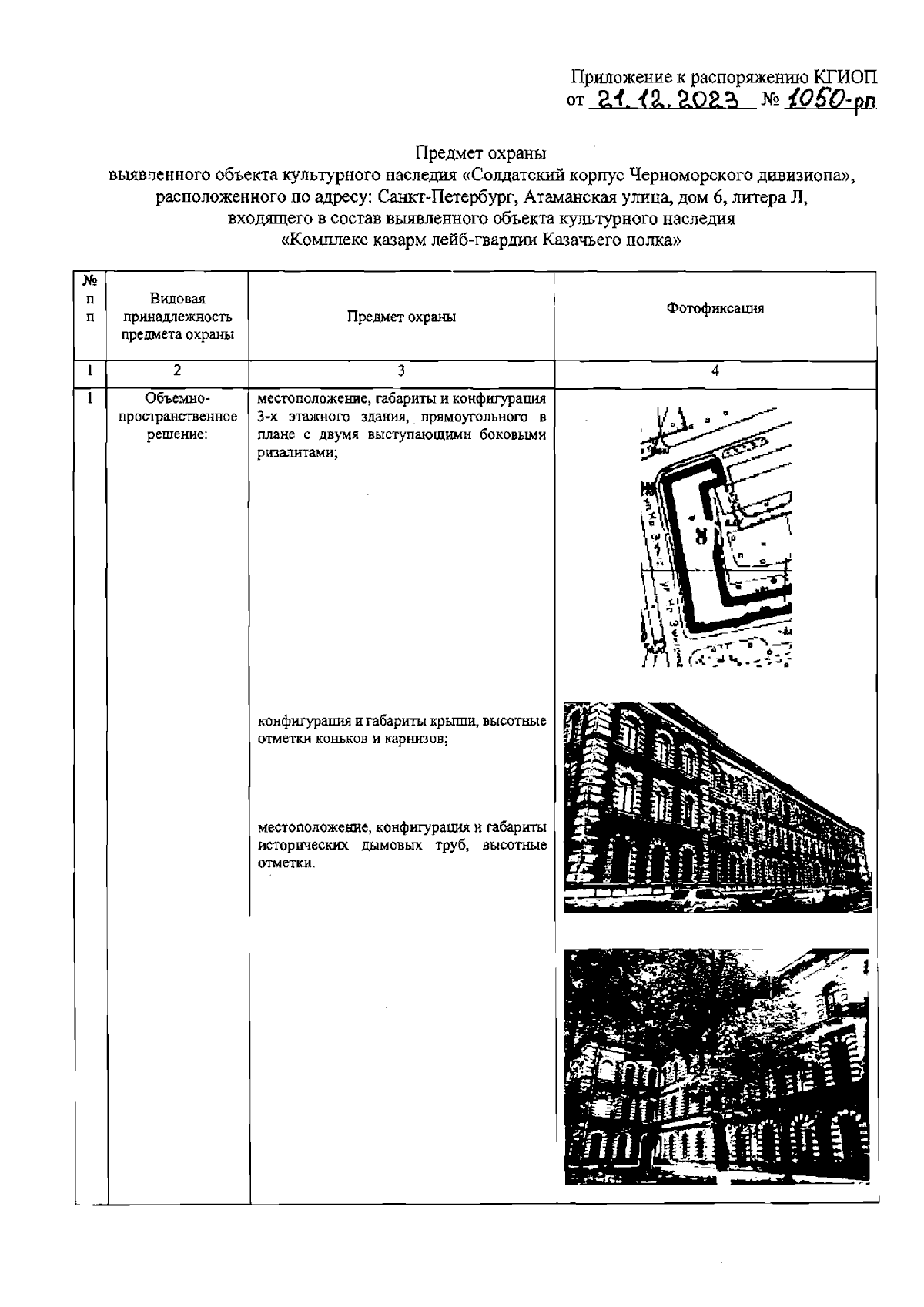
"Об утверждении предмета охраны выявленного объекта культурного наследия "Солдатский корпус Черноморского дивизиона", входящего в состав выявленного объекта культурного наследия "Комплекс казарм лейб-гвардии Казачьего полка"
(Зарегистрирован 22.12.2023 № 36577)
"Об утверждении предмета охраны выявленного объекта культурного наследия "Солдатский корпус Черноморского дивизиона", входящего в состав выявленного объекта культурного наследия "Комплекс казарм лейб-гвардии Казачьего полка"
(Зарегистрирован 22.12.2023 № 36577)
Номер опубликования: 7801202312290039
Дата опубликования:
29.12.2023
