Официальное опубликование правовых актов
ОФИЦИАЛЬНОЕ ОПУБЛИКОВАНИЕ
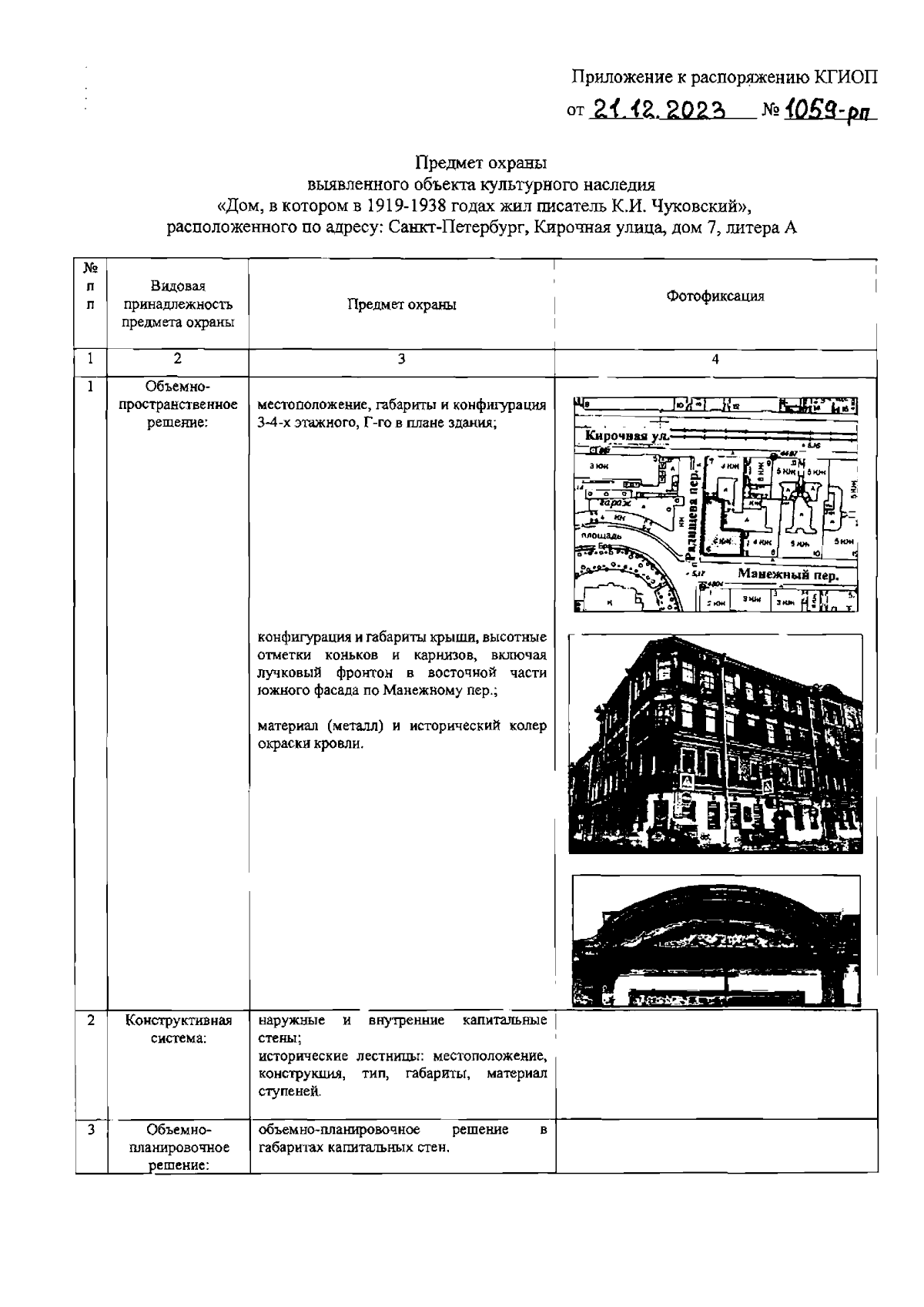
Распоряжение Комитета по государственному контролю, использованию и охране памятников истории и культуры Санкт-Петербурга от 21.12.2023 № 1059-рп
"Об утверждении предмета охраны выявленного объекта культурного наследия "Дом, в котором в 1919-1938 годах жил писатель К.И. Чуковский"
(Зарегистрирован 22.12.2023 № 36586)
Номер опубликования: 7801202312290023
Дата опубликования: 29.12.2023
Страница №2 из 4:
Увеличить