Официальное опубликование правовых актов
ОФИЦИАЛЬНОЕ ОПУБЛИКОВАНИЕ
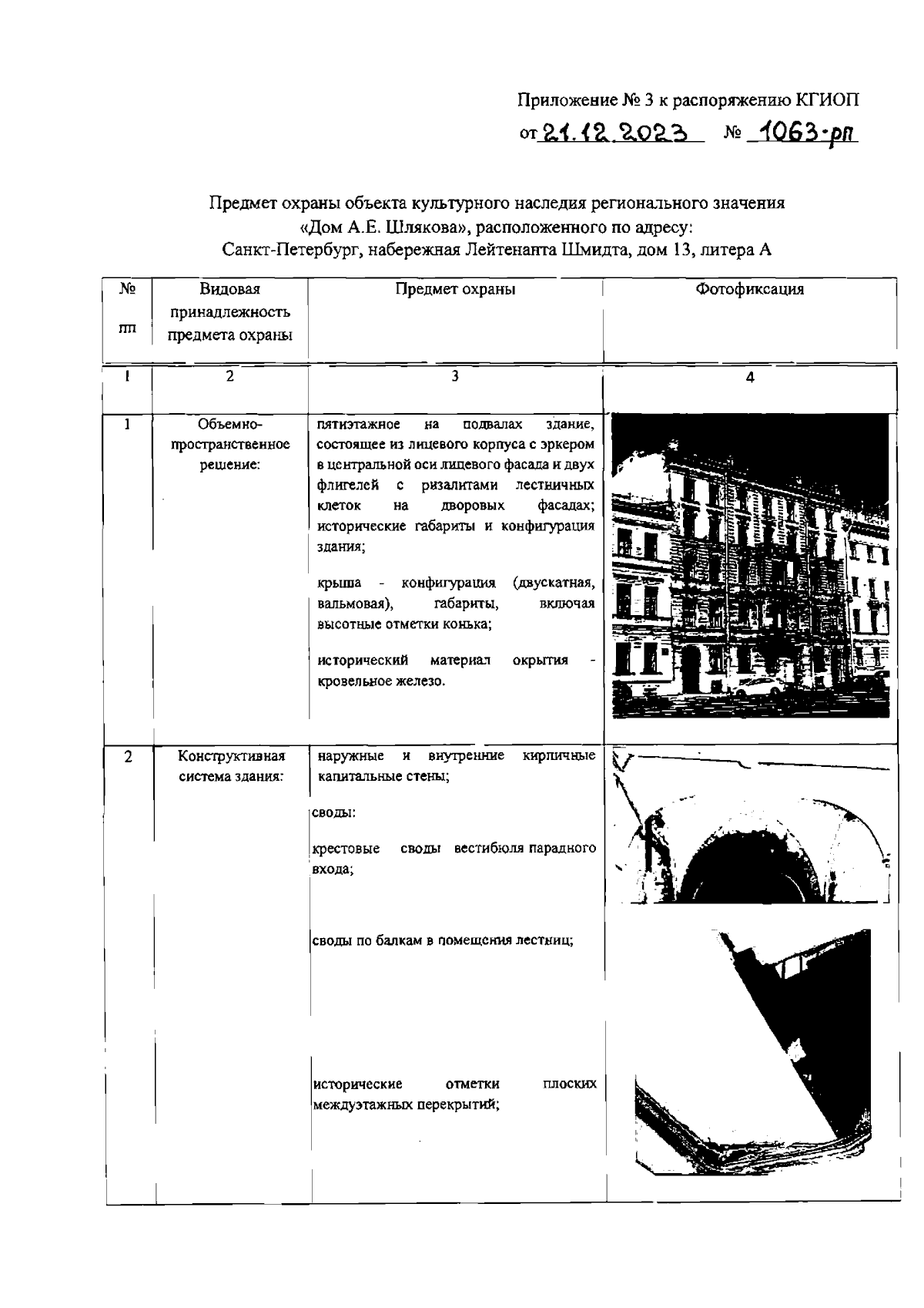
Распоряжение Комитета по государственному контролю, использованию и охране памятников истории и культуры Санкт-Петербурга от 21.12.2023 № 1063-рп
"О включении выявленного объекта культурного наследия в единый государственный реестр объектов культурного наследия (памятников истории и культуры) народов Российской Федерации в качестве объекта культурного наследия регионального значения "Дом А.Е. Шлякова" об утверждении границ и режима использования территории объекта культурного наследия, об утверждении предмета охраны объекта культурного наследия"
(Зарегистрирован 22.12.2023 № 36590)
Номер опубликования: 7801202312290013
Дата опубликования: 29.12.2023
Страница №7 из 14:
Увеличить