Официальное опубликование правовых актов
ОФИЦИАЛЬНОЕ ОПУБЛИКОВАНИЕ
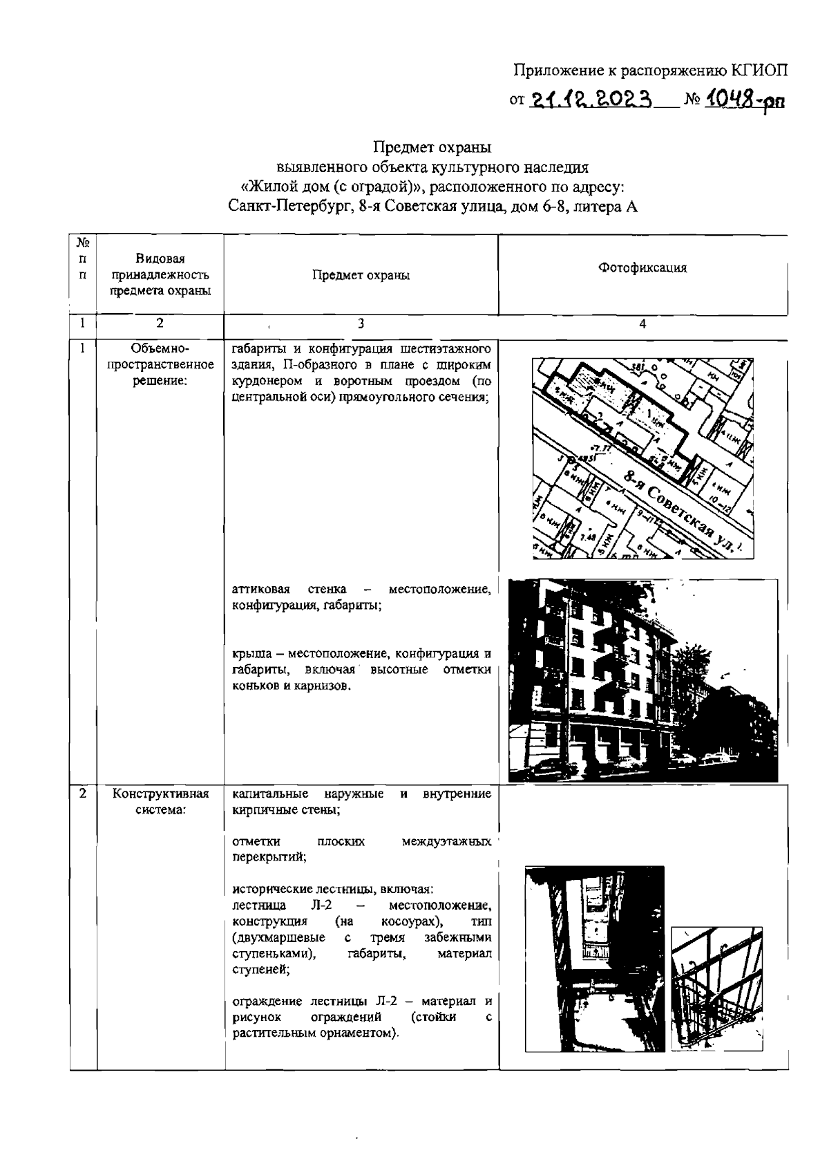
Распоряжение Комитета по государственному контролю, использованию и охране памятников истории и культуры Санкт-Петербурга от 21.12.2023 № 1048-рп
"Об утверждении предмета охраны выявленного объекта культурного наследия "Жилой дом (с оградой)"
(Зарегистрирован 21.12.2023 № 36575)
Номер опубликования: 7801202312290004
Дата опубликования: 29.12.2023
Страница №2 из 7:
Увеличить