Официальное опубликование правовых актов
ОФИЦИАЛЬНОЕ ОПУБЛИКОВАНИЕ
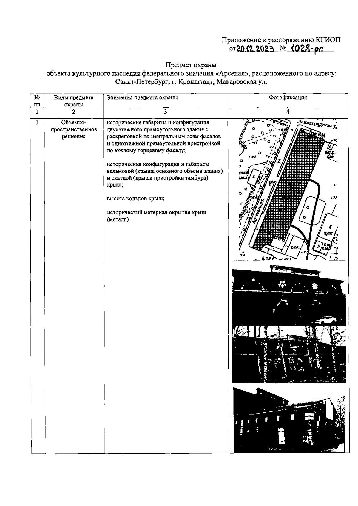
Распоряжение Комитета по государственному контролю, использованию и охране памятников истории и культуры Санкт-Петербурга от 20.12.2023 № 1028-рп
"Об утверждении предмета охраны объекта культурного наследия федерального значения "Арсенал"
(Зарегистрирован 21.12.2023 № 36552)
Номер опубликования: 7801202312220028
Дата опубликования: 22.12.2023
Страница №2 из 11:
Увеличить