Официальное опубликование правовых актов
ОФИЦИАЛЬНОЕ ОПУБЛИКОВАНИЕ
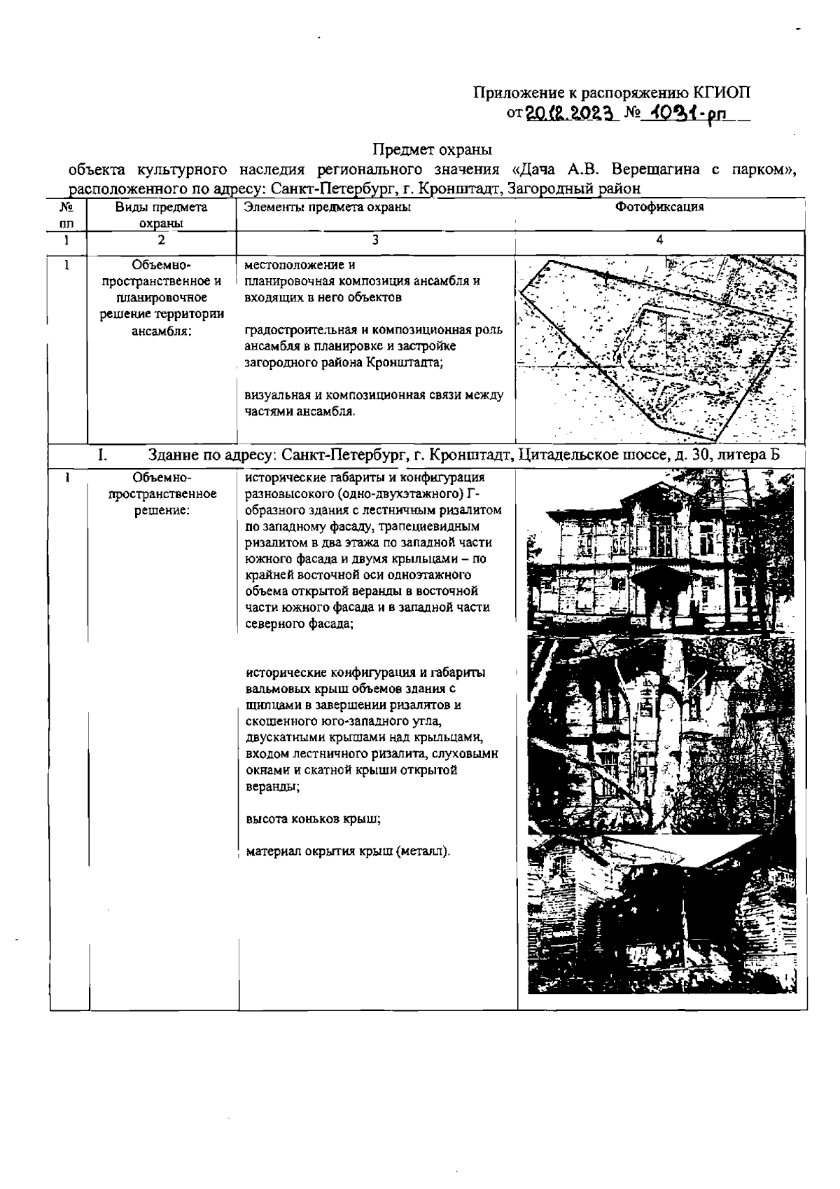
Распоряжение Комитета по государственному контролю, использованию и охране памятников истории и культуры Санкт-Петербурга от 20.12.2023 № 1031-рп
"Об утверждении предмета охраны объекта культурного наследия регионального значения "Дача А.В. Верещагина с парком"
(Зарегистрирован 21.12.2023 № 36555)
Номер опубликования: 7801202312220026
Дата опубликования: 22.12.2023
Страница №2 из 16:
Увеличить