Официальное опубликование правовых актов
ОФИЦИАЛЬНОЕ ОПУБЛИКОВАНИЕ
Распоряжение Комитета по государственному контролю, использованию и охране памятников истории и культуры Санкт-Петербурга от 18.12.2023 № 1018-рп
"Об утверждении предмета охраны выявленного объекта культурного наследия "Здание Третьей военной гимназии"
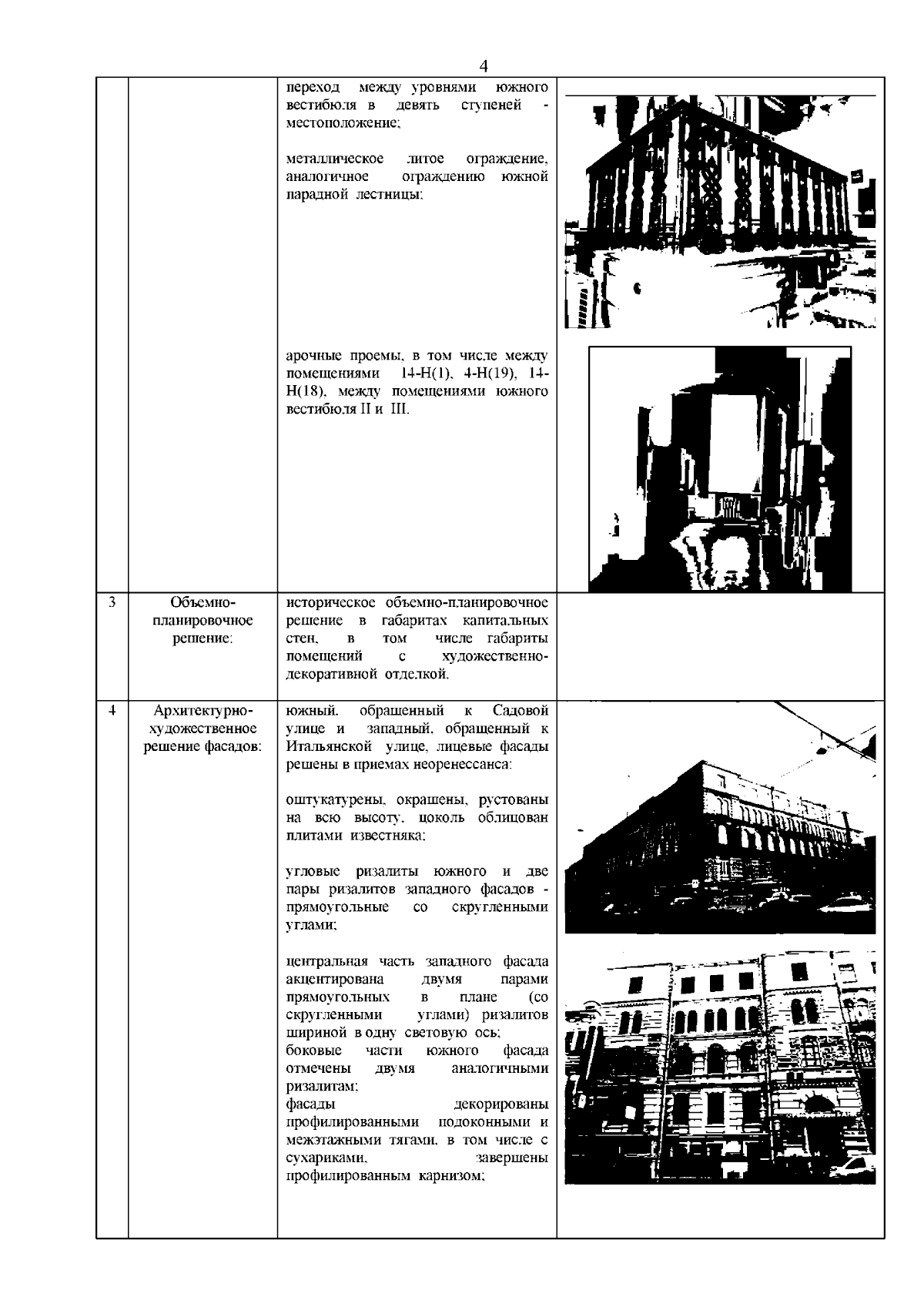
(Зарегистрирован 19.12.2023 № 36526)
Номер опубликования: 7801202312220017
Дата опубликования: 22.12.2023
Страница №5 из 10:
Увеличить