Официальное опубликование правовых актов
ОФИЦИАЛЬНОЕ ОПУБЛИКОВАНИЕ
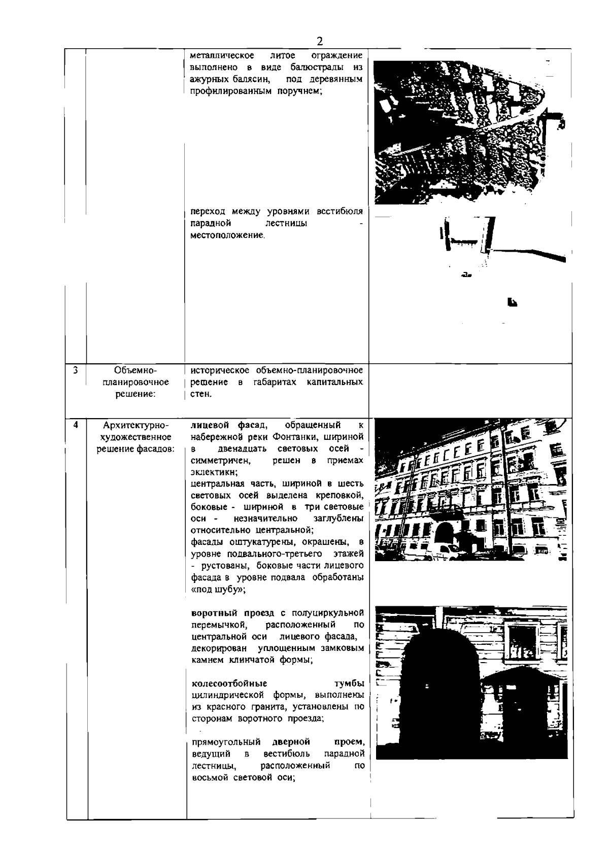
Распоряжение Комитета по государственному контролю, использованию и охране памятников истории и культуры Санкт-Петербурга от 18.12.2023 № 1019-рп
"Об утверждении предмета охраны выявленного объекта культурного наследия "Дом И.В. Черепенникова"
(Зарегистрирован 19.12.2023 № 36528)
Номер опубликования: 7801202312220016
Дата опубликования: 22.12.2023
Страница №3 из 5:
Увеличить