Распоряжение Комитета по государственному контролю, использованию и охране памятников истории и культуры Санкт-Петербурга от 19.12.2023 № 1023-рп
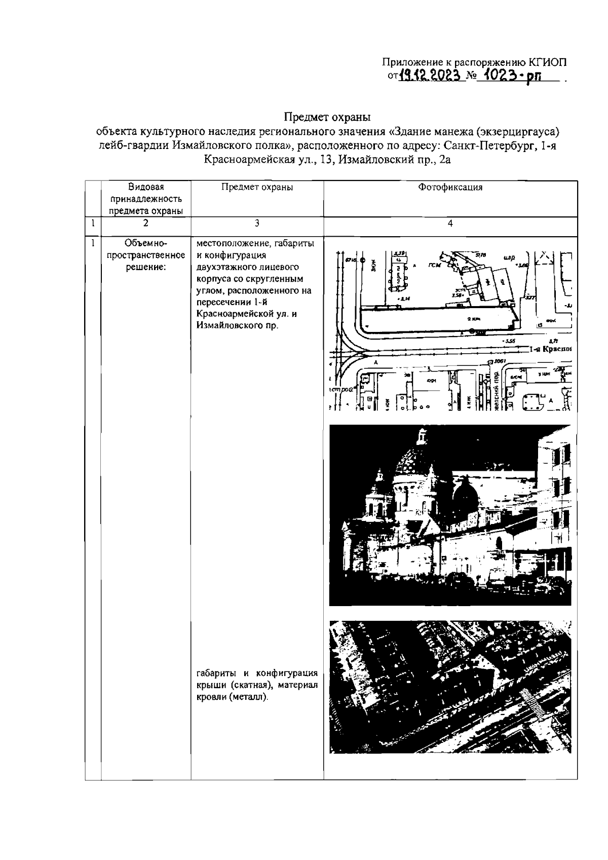
"Об утверждении предмета охраны объекта культурного наследия регионального значения "Здание манежа (экзерциргауса) лейб-гвардии Измайловского полка"
(Зарегистрирован 19.12.2023 № 36536)
"Об утверждении предмета охраны объекта культурного наследия регионального значения "Здание манежа (экзерциргауса) лейб-гвардии Измайловского полка"
(Зарегистрирован 19.12.2023 № 36536)
Номер опубликования: 7801202312220015
Дата опубликования:
22.12.2023
