Официальное опубликование правовых актов
ОФИЦИАЛЬНОЕ ОПУБЛИКОВАНИЕ
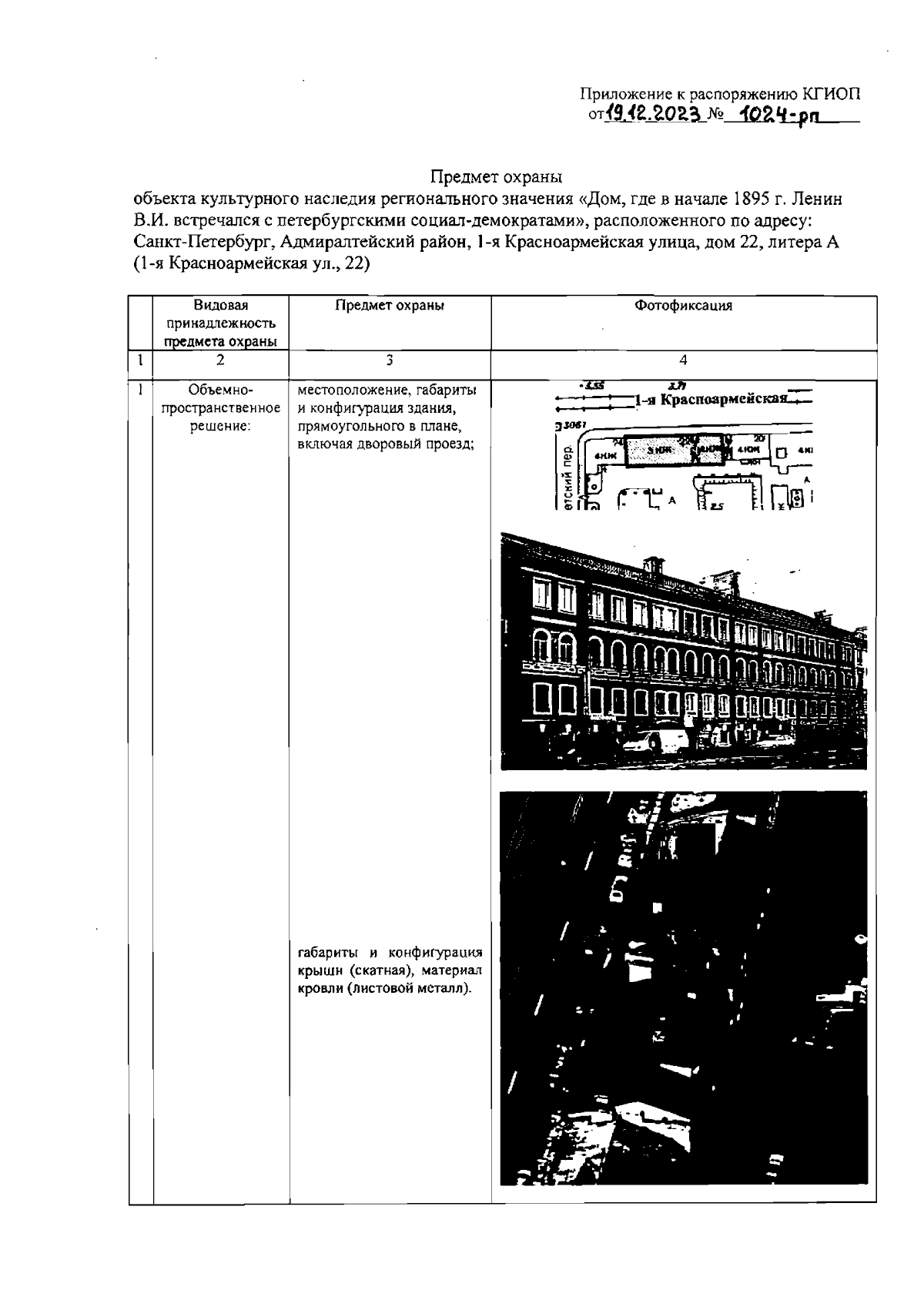
Распоряжение Комитета по государственному контролю, использованию и охране памятников истории и культуры Санкт-Петербурга от 19.12.2023 № 1024-рп
"Об утверждении предмета охраны объекта культурного наследия регионального значения "Дом, где в начале 1895 г. Ленин В.И. встречался с петербургскими социал-демократами"
(Зарегистрирован 19.12.2023 № 36537)
Номер опубликования: 7801202312220014
Дата опубликования: 22.12.2023
Страница №2 из 5:
Увеличить