Официальное опубликование правовых актов
ОФИЦИАЛЬНОЕ ОПУБЛИКОВАНИЕ
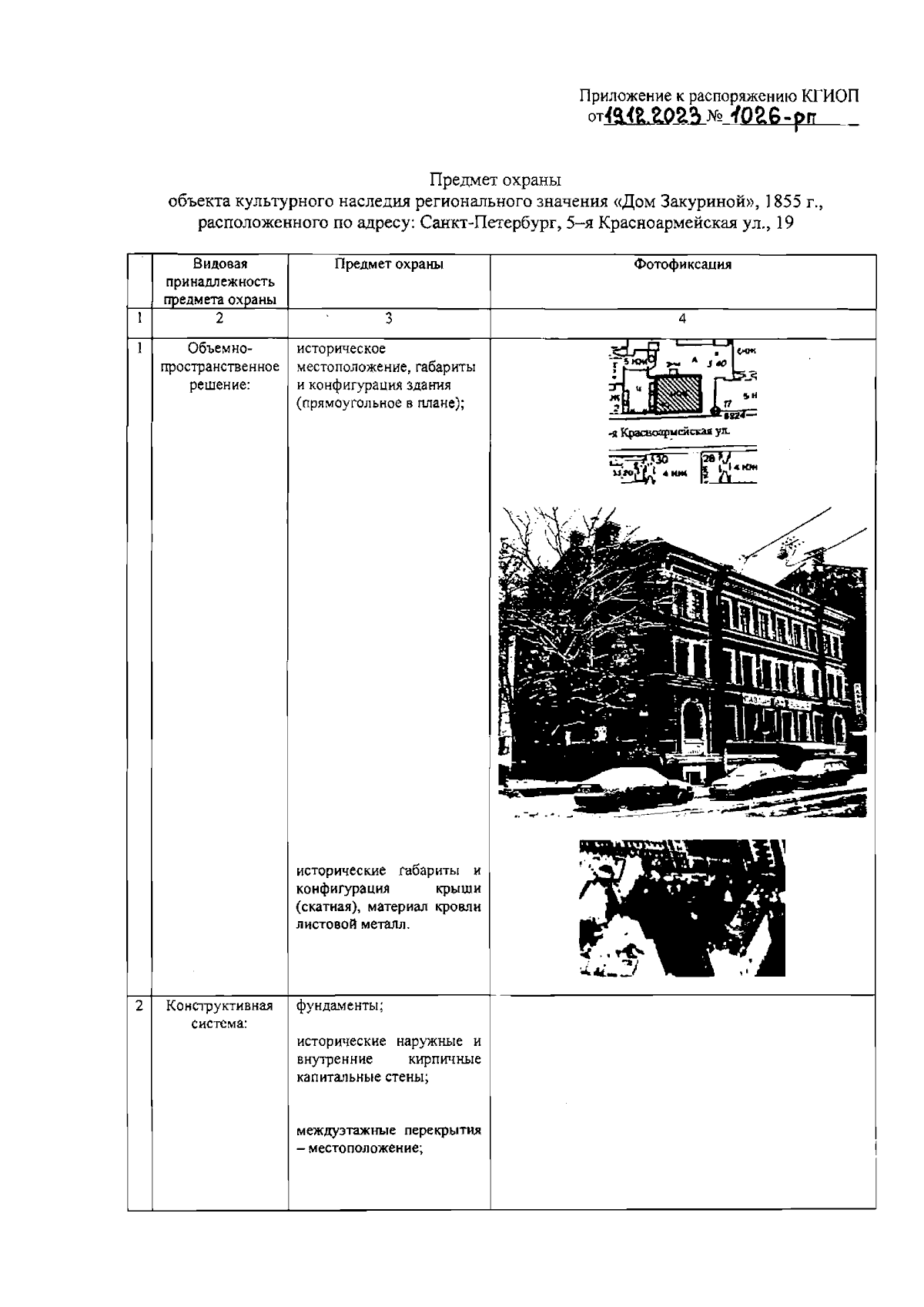
Распоряжение Комитета по государственному контролю, использованию и охране памятников истории и культуры Санкт-Петербурга от 19.12.2023 № 1026-рп
"Об утверждении предмета охраны объекта культурного наследия регионального значения "Дом Закуриной"
(Зарегистрирован 19.12.2023 № 36539)
Номер опубликования: 7801202312220012
Дата опубликования: 22.12.2023
Страница №2 из 5:
Увеличить