Официальное опубликование правовых актов
ОФИЦИАЛЬНОЕ ОПУБЛИКОВАНИЕ
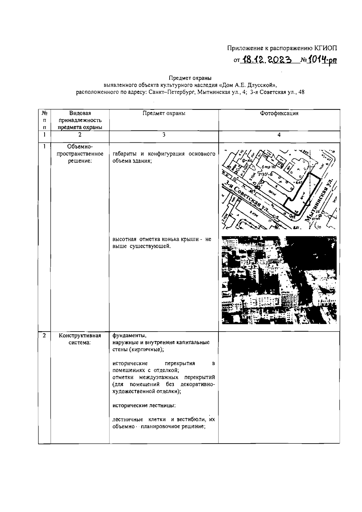
Распоряжение Комитета по государственному контролю, использованию и охране памятников истории и культуры Санкт-Петербурга от 18.12.2023 № 1014-рп
"Об утверждении предмета охраны выявленного объекта культурного наследия "Дом А.Е. Длусской"
(Зарегистрирован 19.12.2023 № 36522)
Номер опубликования: 7801202312210008
Дата опубликования: 21.12.2023
Страница №2 из 13:
Увеличить