Официальное опубликование правовых актов
ОФИЦИАЛЬНОЕ ОПУБЛИКОВАНИЕ
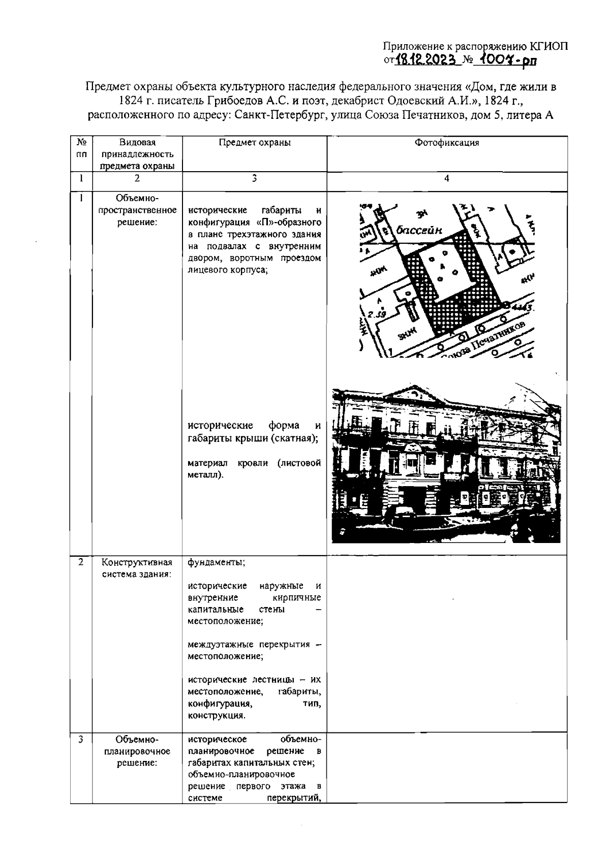
Распоряжение Комитета по государственному контролю, использованию и охране памятников истории и культуры Санкт-Петербурга от 18.12.2023 № 1007-рп
"Об утверждении предмета охраны объекта культурного наследия федерального значения "Дом, где жили в 1824 г. писатель Грибоедов А.С. и поэт, декабрист Одоевский А.И."
(Зарегистрирован 18.12.2023 № 36511)
Номер опубликования: 7801202312200019
Дата опубликования: 20.12.2023
Страница №2 из 5:
Увеличить