Официальное опубликование правовых актов
ОФИЦИАЛЬНОЕ ОПУБЛИКОВАНИЕ
Распоряжение Комитета по государственному контролю, использованию и охране памятников истории и культуры Санкт-Петербурга от 14.12.2023 № 1000-рп
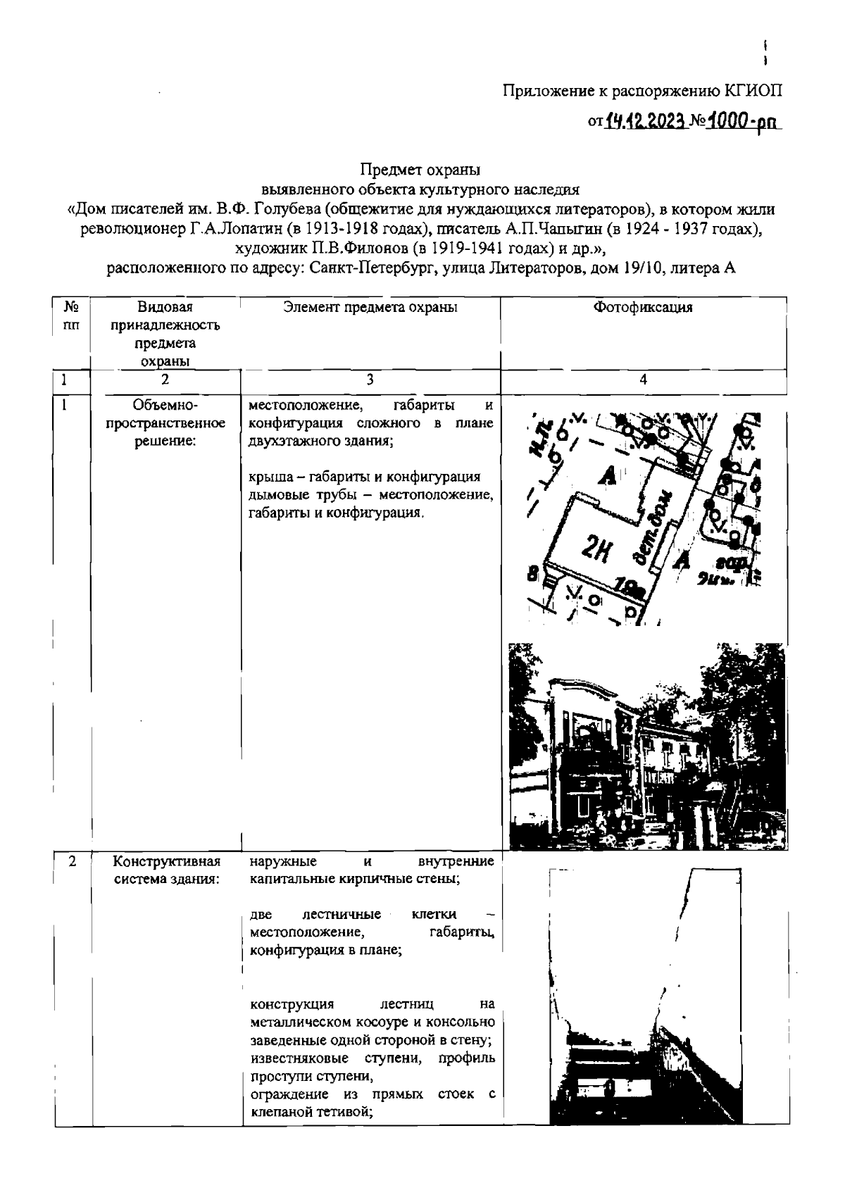
"Об утверждении предмета охраны выявленного объекта культурного наследия "Дом писателей им. В.Ф. Голубева (общежитие для нуждающихся литераторов), в котором жили революционер Г.А. Лопатин (в 1913-1918 годах), писатель А.П. Чапыгин (в 1924 - 1937 годах), художник П.В. Филонов (в 1919-1941 годах) и др."
(Зарегистрирован 18.12.2023 № 36505)
Номер опубликования: 7801202312200017
Дата опубликования: 20.12.2023
Страница №2 из 5:
Увеличить