Официальное опубликование правовых актов
ОФИЦИАЛЬНОЕ ОПУБЛИКОВАНИЕ
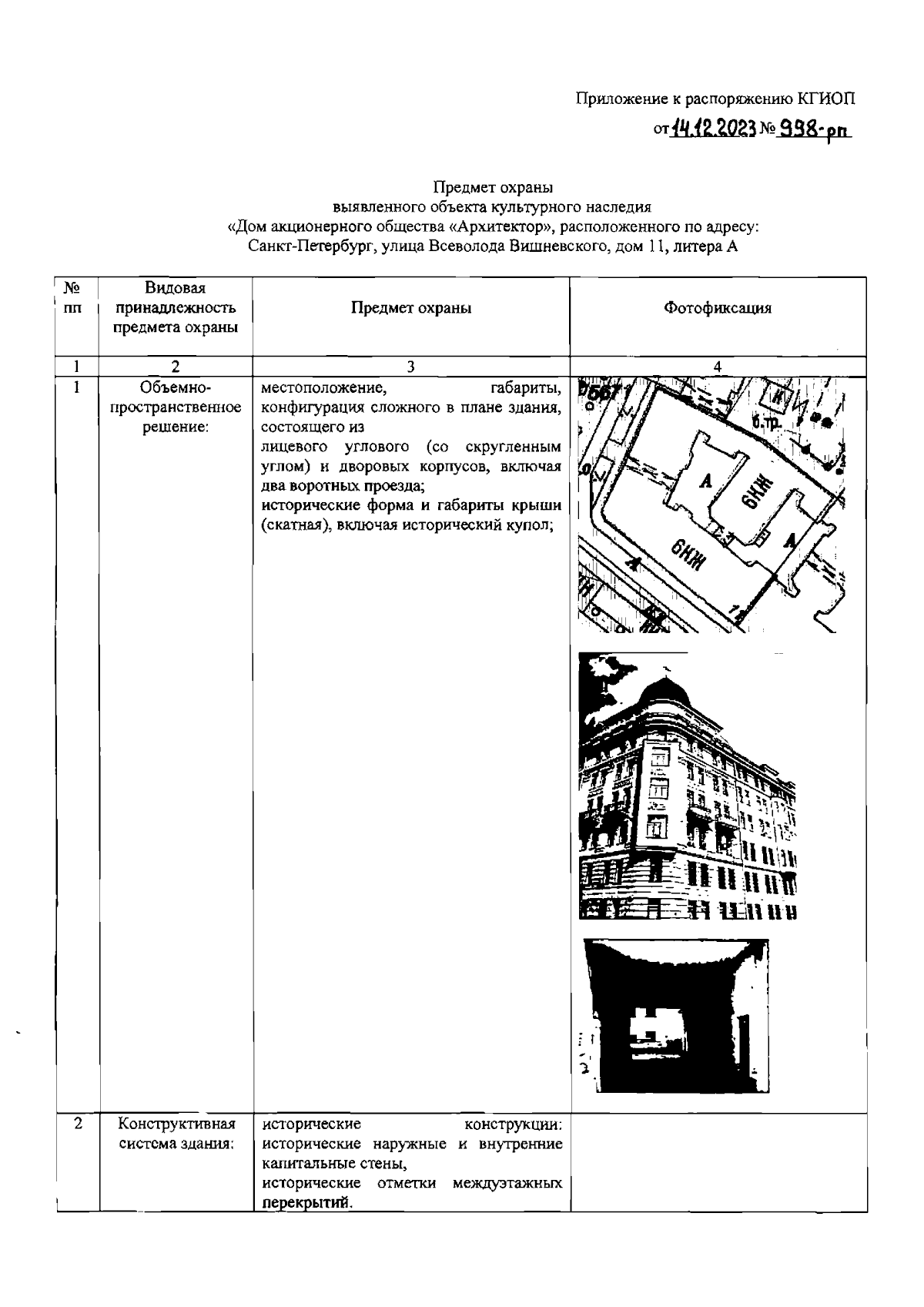
Распоряжение Комитета по государственному контролю, использованию и охране памятников истории и культуры Санкт-Петербурга от 14.12.2023 № 998-рп
"Об утверждении предмета охраны выявленного объекта культурного наследия "Дом акционерного общества "Архитектор"
(Зарегистрирован 18.12.2023 № 36501)
Номер опубликования: 7801202312200016
Дата опубликования: 20.12.2023
Страница №2 из 7:
Увеличить