Официальное опубликование правовых актов
ОФИЦИАЛЬНОЕ ОПУБЛИКОВАНИЕ
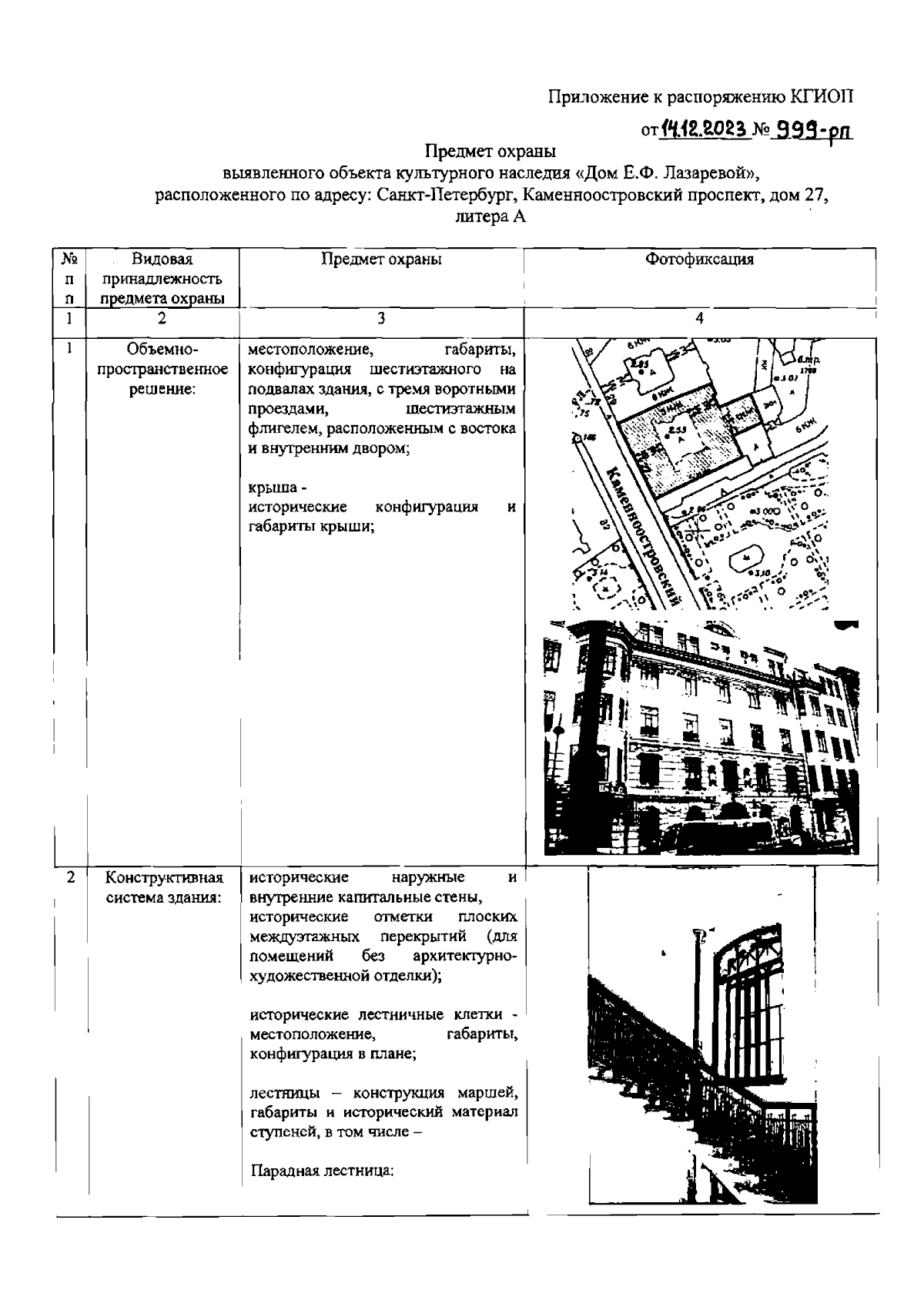
Распоряжение Комитета по государственному контролю, использованию и охране памятников истории и культуры Санкт-Петербурга от 14.12.2023 № 999-рп
"Об утверждении предмета охраны выявленного объекта культурного наследия "Дом Е.Ф. Лазаревой"
(Зарегистрирован 18.12.2023 № 36507)
Номер опубликования: 7801202312200002
Дата опубликования: 20.12.2023
Страница №2 из 9:
Увеличить