Официальное опубликование правовых актов
ОФИЦИАЛЬНОЕ ОПУБЛИКОВАНИЕ
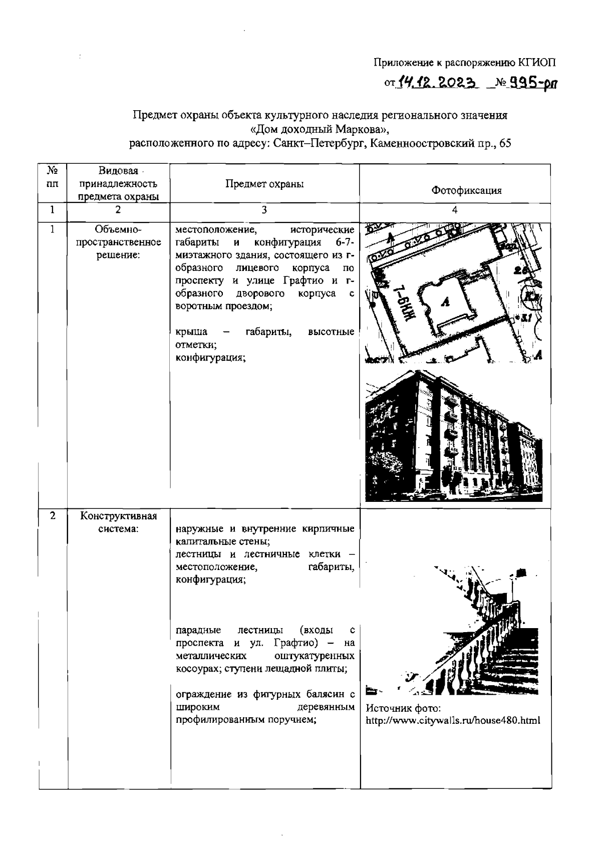
Распоряжение Комитета по государственному контролю, использованию и охране памятников истории и культуры Санкт-Петербурга от 14.12.2023 № 995-рп
"Об утверждении предмета охраны объекта культурного наследия регионального значения "Дом доходный Маркова"
(Зарегистрирован 15.12.2023 № 36495)
Номер опубликования: 7801202312180017
Дата опубликования: 18.12.2023
Страница №2 из 6:
Увеличить