Официальное опубликование правовых актов
ОФИЦИАЛЬНОЕ ОПУБЛИКОВАНИЕ
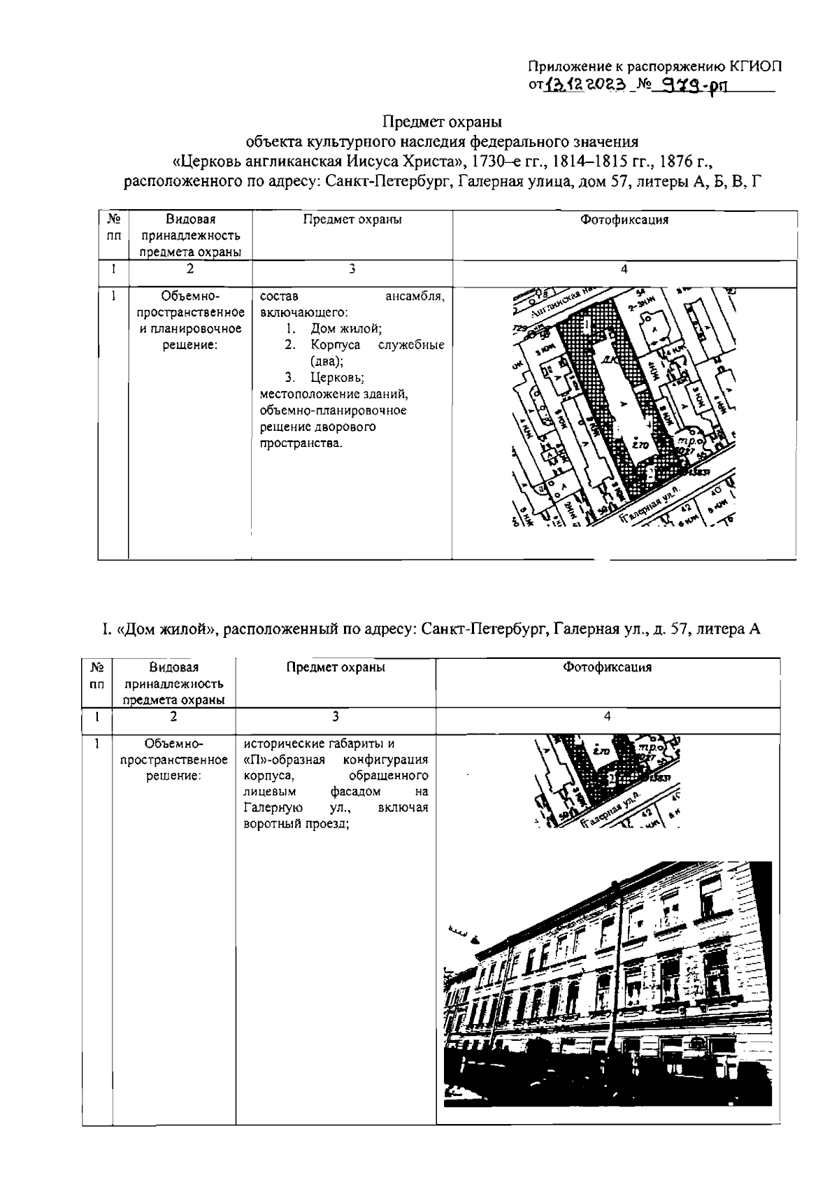
Распоряжение Комитета по государственному контролю, использованию и охране памятников истории и культуры Санкт-Петербурга от 13.12.2023 № 979-рп
"Об утверждении предмета охраны объекта культурного наследия федерального значения "Церковь англиканская Иисуса Христа"
(Зарегистрирован 14.12.2023 № 36472)
Номер опубликования: 7801202312180010
Дата опубликования: 18.12.2023
Страница №2 из 33:
Увеличить