Официальное опубликование правовых актов
ОФИЦИАЛЬНОЕ ОПУБЛИКОВАНИЕ
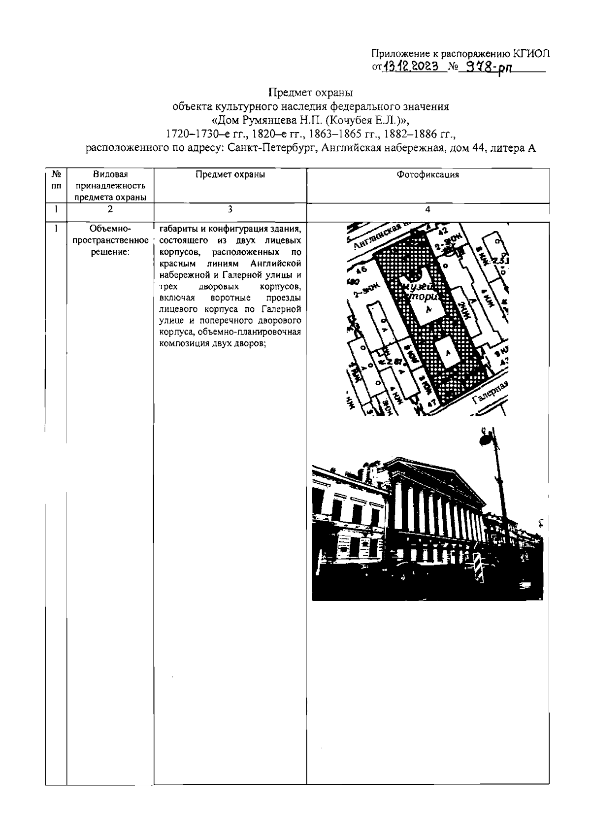
Распоряжение Комитета по государственному контролю, использованию и охране памятников истории и культуры Санкт-Петербурга от 13.12.2023 № 978-рп
"Об утверждении предмета охраны объекта культурного наследия федерального значения "Дом Румянцева Н.П. (Кочубея Е.Л.), арх. Глинка В.А., ск. Мартос И.П., арх. Цим И.-А., арх. Степанов А.А."
(Зарегистрирован 14.12.2023 № 36473)
Номер опубликования: 7801202312180005
Дата опубликования: 18.12.2023
Страница №2 из 63:
Увеличить