Официальное опубликование правовых актов
ОФИЦИАЛЬНОЕ ОПУБЛИКОВАНИЕ
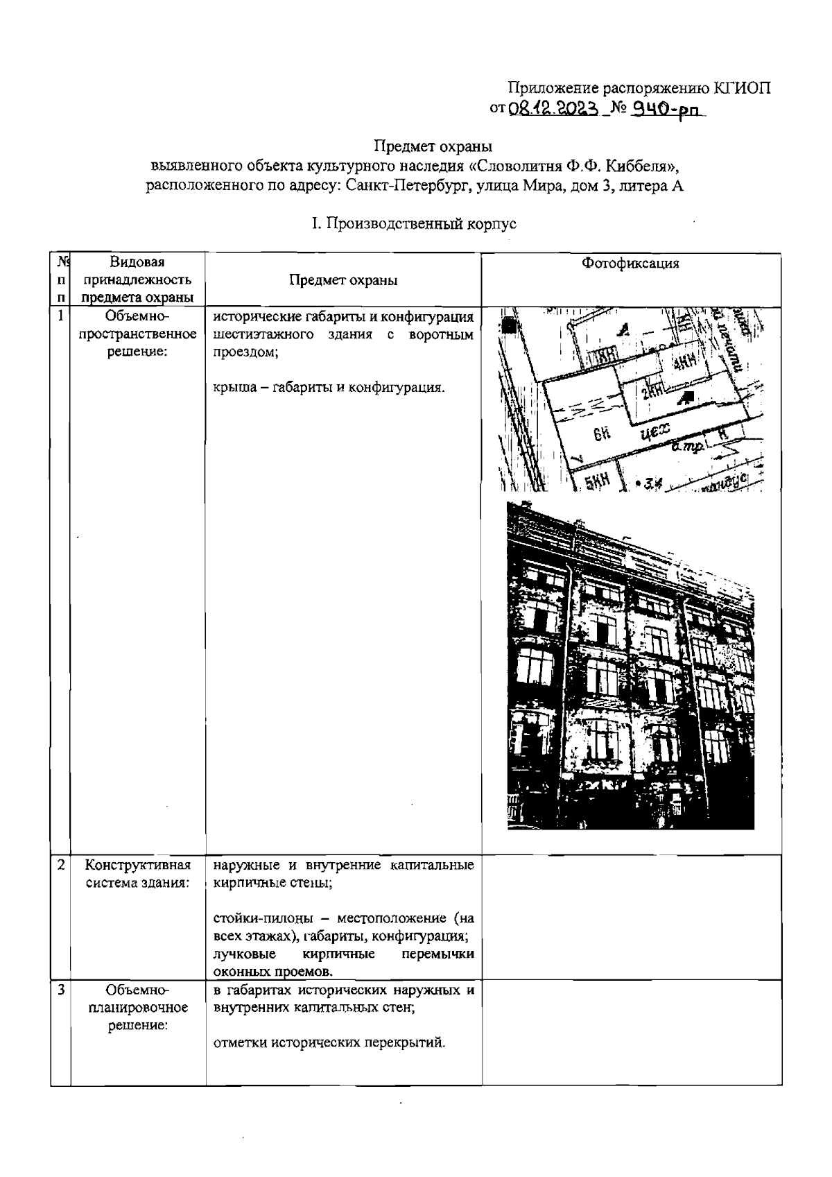
Распоряжение Комитета по государственному контролю, использованию и охране памятников истории и культуры Санкт-Петербурга от 08.12.2023 № 940-рп
"Об утверждении предмета охраны выявленного объекта культурного наследия "Словолитня Ф.Ф. Киббеля"
(Зарегистрирован 15.12.2023 № 36497)
Номер опубликования: 7801202312180001
Дата опубликования: 18.12.2023
Страница №2 из 5:
Увеличить