Официальное опубликование правовых актов
ОФИЦИАЛЬНОЕ ОПУБЛИКОВАНИЕ
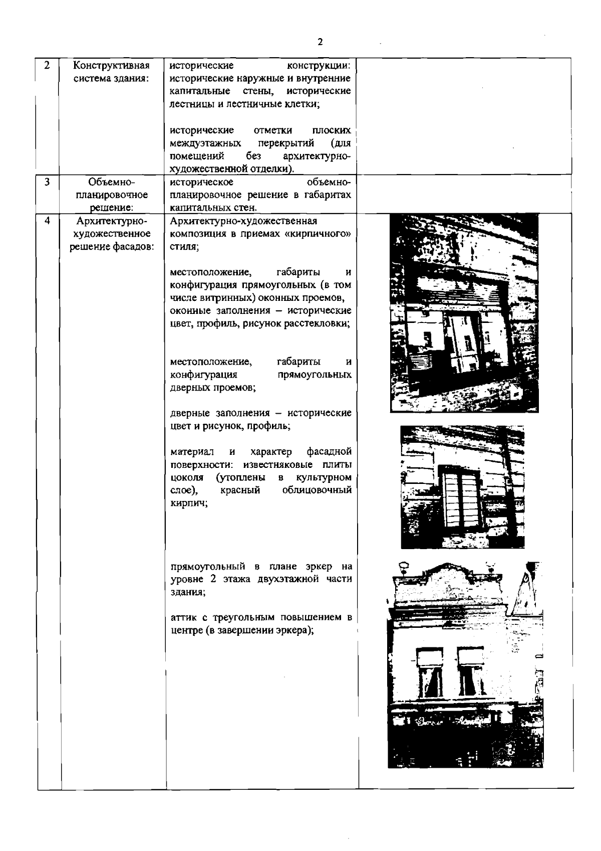
Распоряжение Комитета по государственному контролю, использованию и охране памятников истории и культуры Санкт-Петербурга от 12.12.2023 № 962-рп
"Об утверждении предмета охраны выявленного объекта культурного наследия "Дом и мастерская К.Н. Гофмана"
(Зарегистрирован 13.12.2023 № 36446)
Номер опубликования: 7801202312130040
Дата опубликования: 13.12.2023
Страница №3 из 6:
Увеличить