Официальное опубликование правовых актов
ОФИЦИАЛЬНОЕ ОПУБЛИКОВАНИЕ
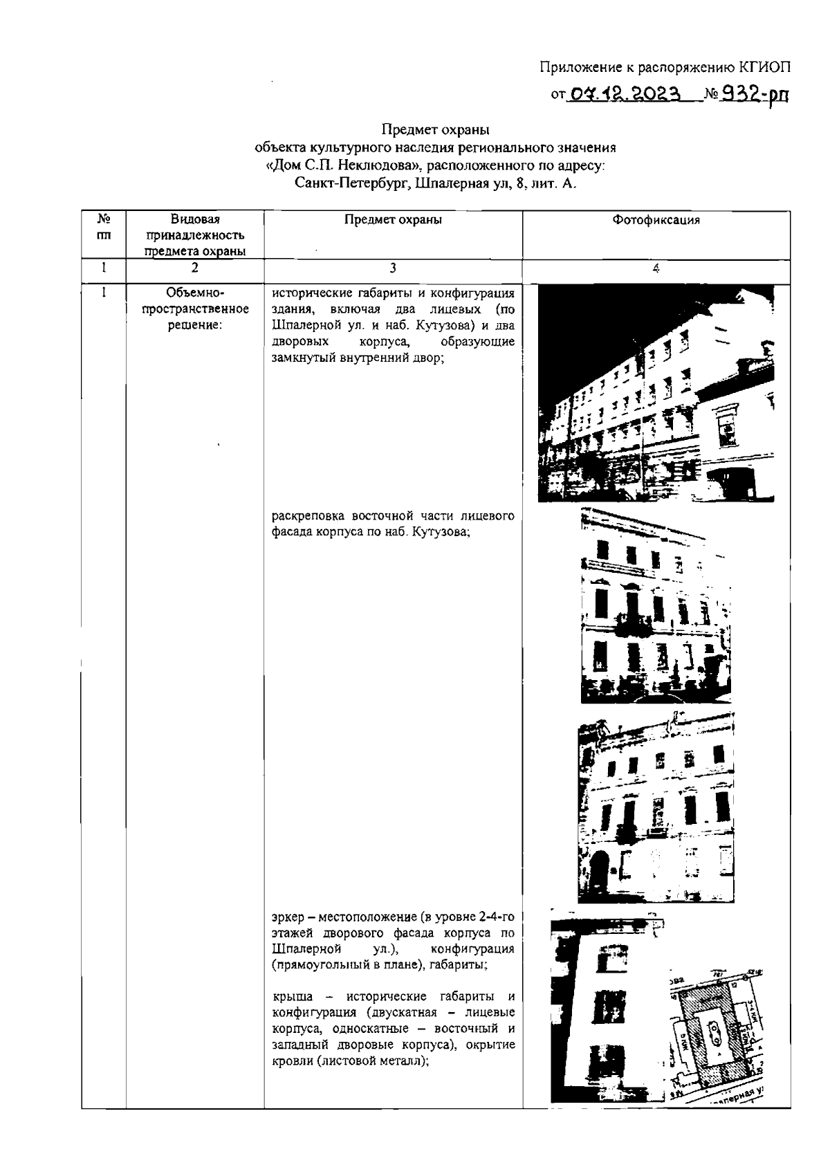
Распоряжение Комитета по государственному контролю, использованию и охране памятников истории и культуры Санкт-Петербурга от 07.12.2023 № 932-рп
"Об утверждении предмета охраны объекта культурного наследия регионального значения "Дом С.П. Неклюдова"
(Зарегистрирован 08.12.2023 № 36406)
Номер опубликования: 7801202312120006
Дата опубликования: 12.12.2023
Страница №2 из 20:
Увеличить