Официальное опубликование правовых актов
ОФИЦИАЛЬНОЕ ОПУБЛИКОВАНИЕ
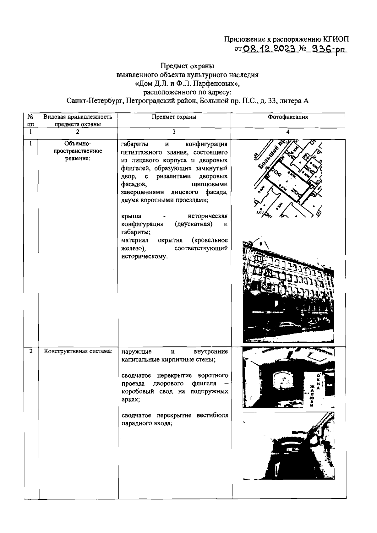
Распоряжение Комитета по государственному контролю, использованию и охране памятников истории и культуры Санкт-Петербурга от 08.12.2023 № 936-рп
"Об утверждении предмета охраны выявленного объекта культурного наследия "Дом Д.Л. и Ф.Л. Парфеновых"
(Зарегистрирован 08.12.2023 № 36398)
Номер опубликования: 7801202312110060
Дата опубликования: 11.12.2023
Страница №2 из 11:
Увеличить