Официальное опубликование правовых актов
ОФИЦИАЛЬНОЕ ОПУБЛИКОВАНИЕ
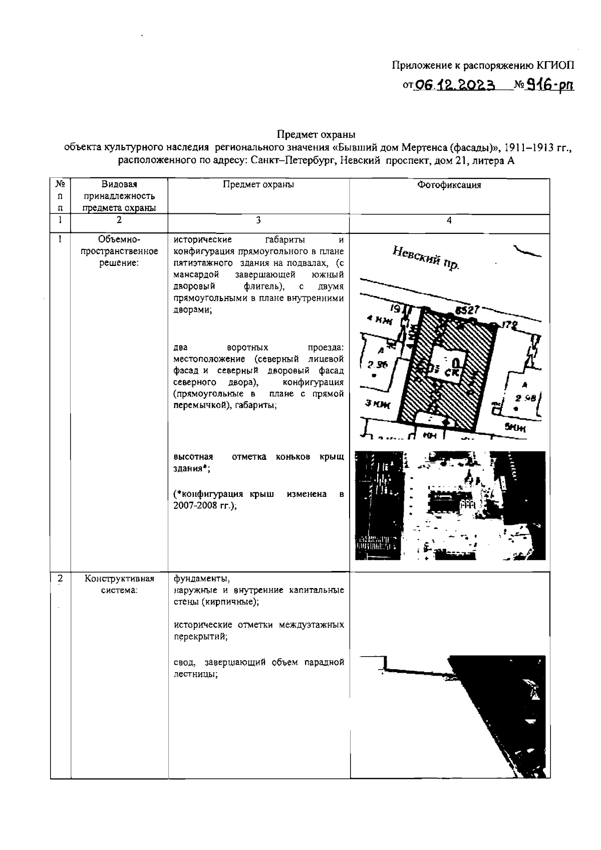
Распоряжение Комитета по государственному контролю, использованию и охране памятников истории и культуры Санкт-Петербурга от 06.12.2023 № 916-рп
"Об утверждении предмета охраны объекта культурного наследия регионального значения "Бывший дом Мертенса (фасады)"
(Зарегистрирован 07.12.2023 № 36367)
Номер опубликования: 7801202312110051
Дата опубликования: 11.12.2023
Страница №2 из 25:
Увеличить