Официальное опубликование правовых актов
ОФИЦИАЛЬНОЕ ОПУБЛИКОВАНИЕ
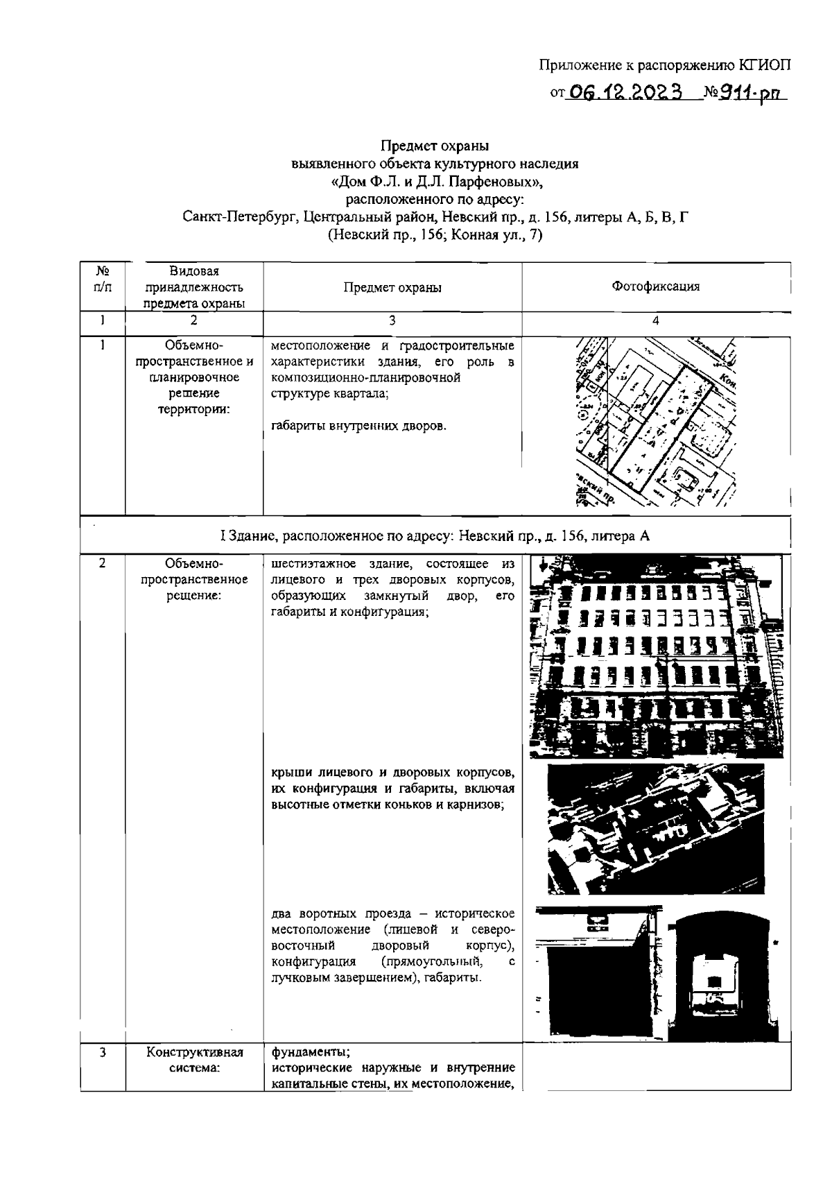
Распоряжение Комитета по государственному контролю, использованию и охране памятников истории и культуры Санкт-Петербурга от 06.12.2023 № 911-рп
"Об утверждении предмета охраны выявленного объекта культурного наследия "Дом Ф.Л. и Д.Л. Парфеновых"
(Зарегистрирован 07.12.2023 № 36362)
Номер опубликования: 7801202312110045
Дата опубликования: 11.12.2023
Страница №2 из 10:
Увеличить