Официальное опубликование правовых актов
ОФИЦИАЛЬНОЕ ОПУБЛИКОВАНИЕ
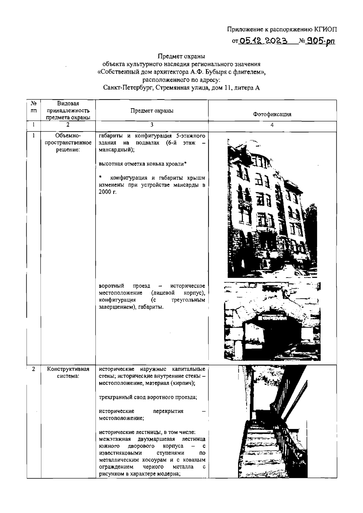
Распоряжение Комитета по государственному контролю, использованию и охране памятников истории и культуры Санкт-Петербурга от 05.12.2023 № 905-рп
"Об утверждении предмета охраны объекта культурного наследия регионального значения "Собственный дом архитектора А.Ф. Бубыря с флигелем"
(Зарегистрирован 06.12.2023 № 36353)
Номер опубликования: 7801202312110027
Дата опубликования: 11.12.2023
Страница №2 из 12:
Увеличить