Официальное опубликование правовых актов
ОФИЦИАЛЬНОЕ ОПУБЛИКОВАНИЕ
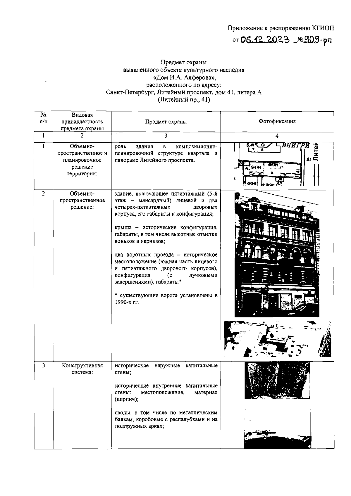
Распоряжение Комитета по государственному контролю, использованию и охране памятников истории и культуры Санкт-Петербурга от 06.12.2023 № 909-рп
"Об утверждении предмета охраны выявленного объекта культурного наследия "Дом И.А. Алферова"
(Зарегистрирован 06.12.2023 № 36355)
Номер опубликования: 7801202312110025
Дата опубликования: 11.12.2023
Страница №2 из 13:
Увеличить