Официальное опубликование правовых актов
ОФИЦИАЛЬНОЕ ОПУБЛИКОВАНИЕ
Распоряжение Комитета по государственному контролю, использованию и охране памятников истории и культуры Санкт-Петербурга от 04.12.2023 № 881-рп
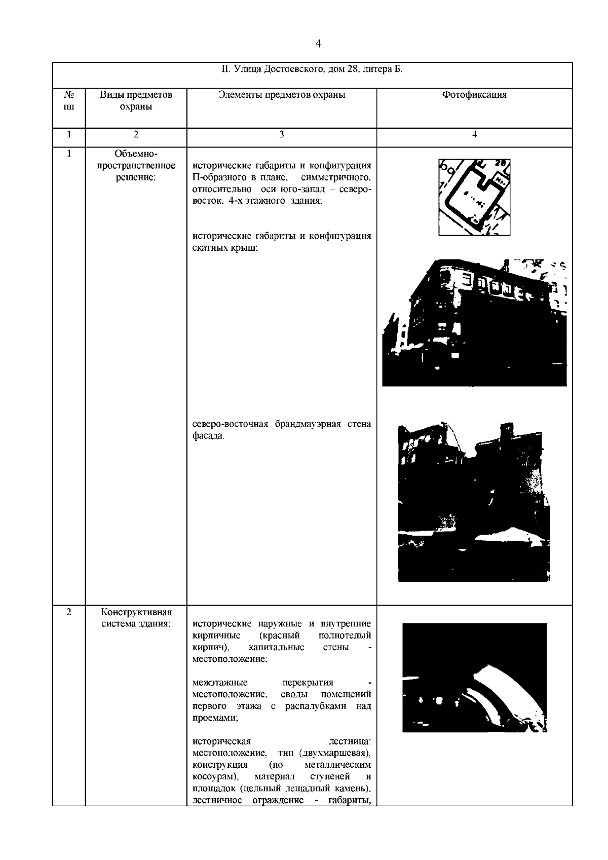
"Об утверждении предмета охраны выявленного объекта культурного наследия "Дом О. Головкина"
(Зарегистрирован 05.12.2023 № 36331)
Номер опубликования: 7801202312110016
Дата опубликования: 11.12.2023
Страница №5 из 7:
Увеличить