Официальное опубликование правовых актов
ОФИЦИАЛЬНОЕ ОПУБЛИКОВАНИЕ
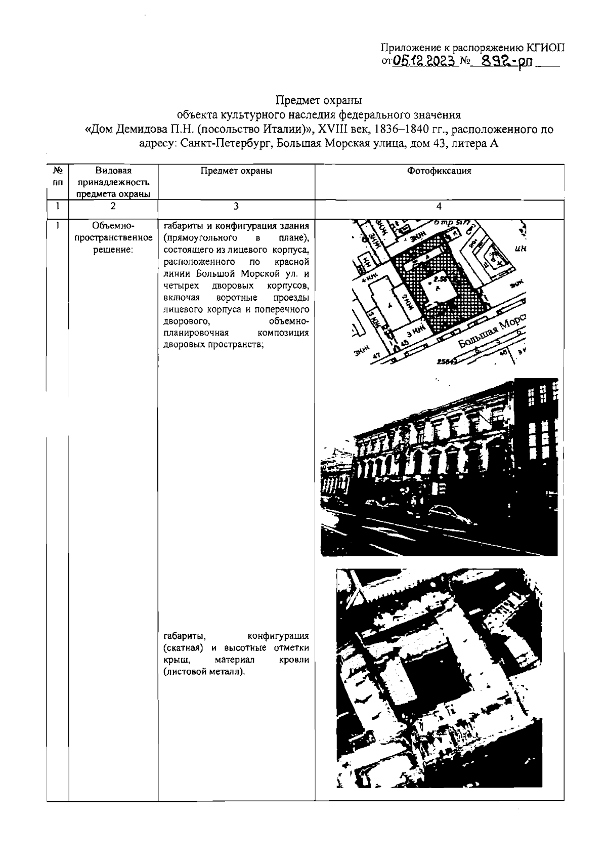
Распоряжение Комитета по государственному контролю, использованию и охране памятников истории и культуры Санкт-Петербурга от 05.12.2023 № 892-рп
"Об утверждении предмета охраны объекта культурного наследия федерального значения "Дом Демидова П.Н. (посольство Италии)"
(Зарегистрирован 05.12.2023 № 36325)
Номер опубликования: 7801202312080018
Дата опубликования: 08.12.2023
Страница №2 из 95:
Увеличить