Официальное опубликование правовых актов
ОФИЦИАЛЬНОЕ ОПУБЛИКОВАНИЕ
Распоряжение Комитета по государственному контролю, использованию и охране памятников истории и культуры Санкт-Петербурга от 05.12.2023 № 894-рп
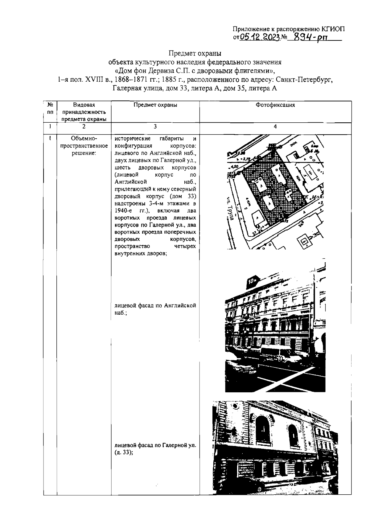
"Об утверждении предмета охраны объекта культурного наследия федерального значения "Дом фон Дервиза С.П. с дворовыми флигелями"
(Зарегистрирован 05.12.2023 № 36323)
Номер опубликования: 7801202312080013
Дата опубликования: 08.12.2023
Страница №2 из 72:
Увеличить