Распоряжение Комитета по государственному контролю, использованию и охране памятников истории и культуры Санкт-Петербурга от 01.12.2023 № 870-рп
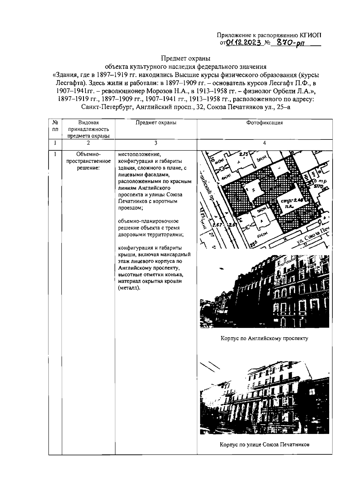
"Об утверждении предмета охраны объекта культурного наследия федерального значения "Здания, где в 1897-1919 гг. находились Высшие курсы физического образования (курсы Лесгафта). Здесь жили и работали: в 1897-1909 гг. - основатель курсов Лесгафт П.Ф., в 1907-1941гг. - революционер Морозов Н.А., в 1913-1958 гг. - физиолог Орбели Л.А."
(Зарегистрирован 04.12.2023 № 36290)
"Об утверждении предмета охраны объекта культурного наследия федерального значения "Здания, где в 1897-1919 гг. находились Высшие курсы физического образования (курсы Лесгафта). Здесь жили и работали: в 1897-1909 гг. - основатель курсов Лесгафт П.Ф., в 1907-1941гг. - революционер Морозов Н.А., в 1913-1958 гг. - физиолог Орбели Л.А."
(Зарегистрирован 04.12.2023 № 36290)
Номер опубликования: 7801202312080006
Дата опубликования:
08.12.2023
