Официальное опубликование правовых актов
ОФИЦИАЛЬНОЕ ОПУБЛИКОВАНИЕ
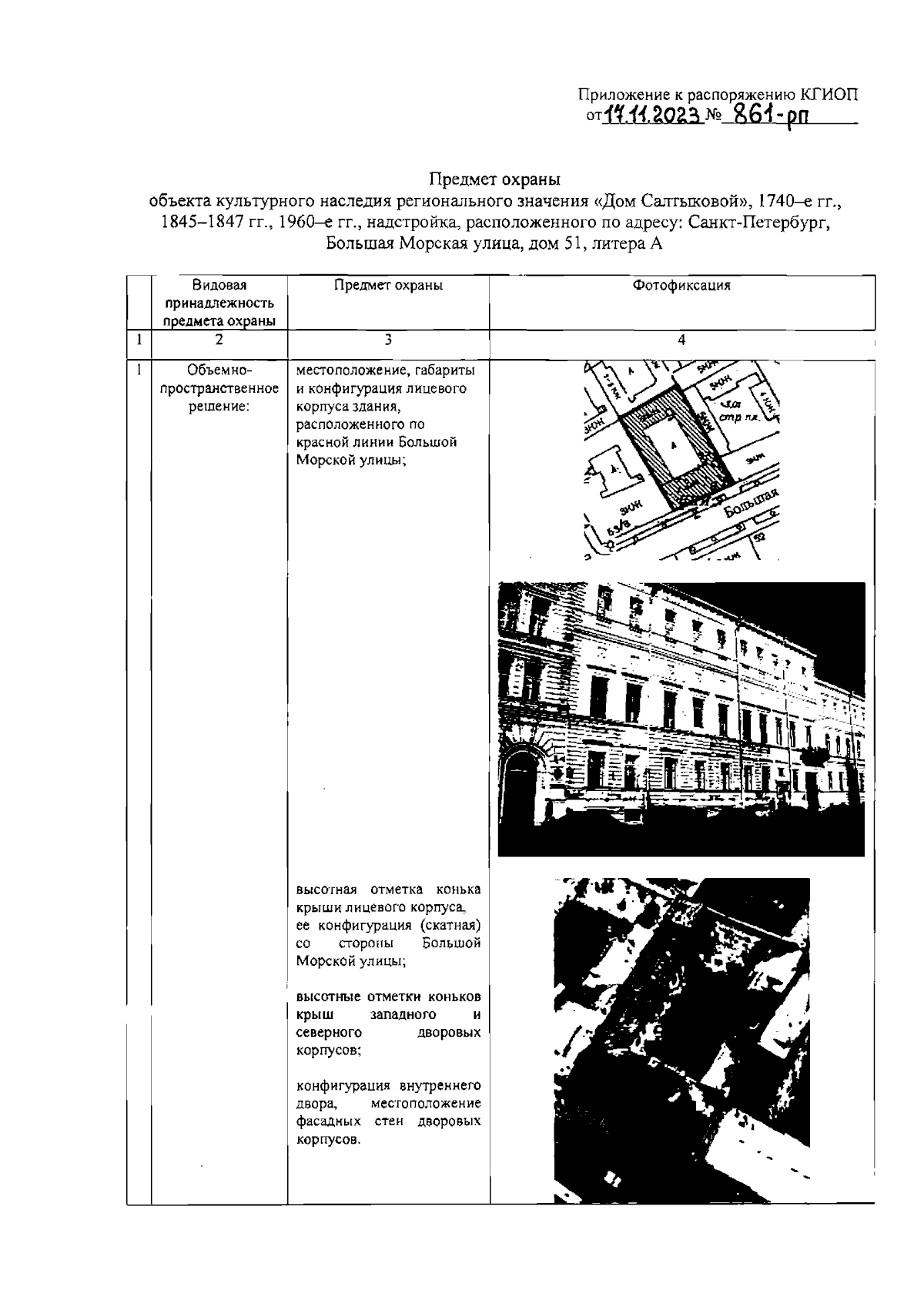
Распоряжение Комитета по государственному контролю, использованию и охране памятников истории и культуры Санкт-Петербурга от 17.11.2023 № 861-рп
"Об утверждении предмета охраны объекта культурного наследия регионального значения "Дом Салтыковой"
(Зарегистрирован 17.11.2023 № 36206)
Номер опубликования: 7801202311220009
Дата опубликования: 22.11.2023
Страница №2 из 45:
Увеличить