Официальное опубликование правовых актов
ОФИЦИАЛЬНОЕ ОПУБЛИКОВАНИЕ
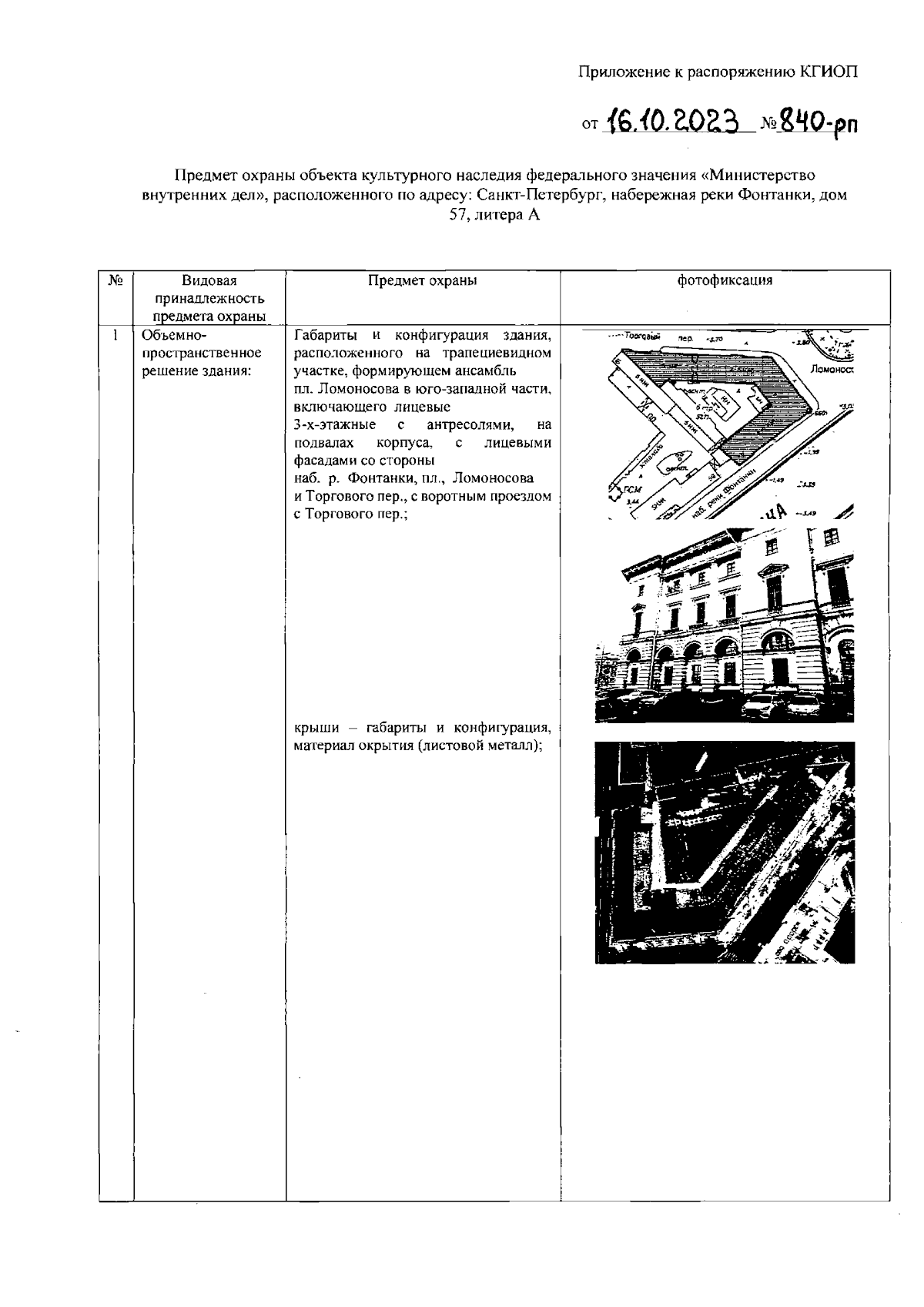
Распоряжение Комитета по государственному контролю, использованию и охране памятников истории и культуры Санкт-Петербурга от 16.10.2023 № 840-рп
"О внесении изменения в распоряжение КГИОП от 14.07.2023 № 591-рп"
(Зарегистрирован 17.10.2023 № 36059)
Номер опубликования: 7801202310200004
Дата опубликования: 20.10.2023
Страница №2 из 12:
Увеличить