Официальное опубликование правовых актов
ОФИЦИАЛЬНОЕ ОПУБЛИКОВАНИЕ
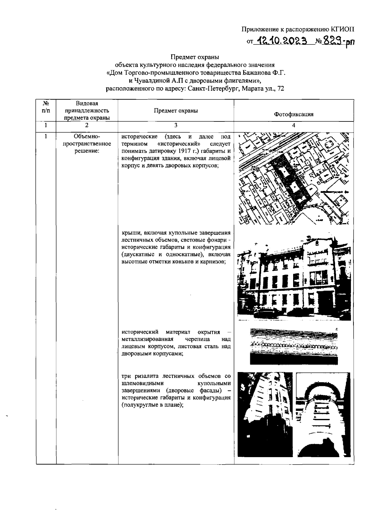
Распоряжение Комитета по государственному контролю, использованию и охране памятников истории и культуры Санкт-Петербурга от 12.10.2023 № 829-рп
"Об утверждении предмета охраны объекта культурного наследия федерального значения "Дом Торгово-промышленного товарищества Бажанова Ф.Г. и Чувалдиной А.П. с дворовыми флигелями"
(Зарегистрирован 13.10.2023 № 36047)
Номер опубликования: 7801202310160005
Дата опубликования: 16.10.2023
Страница №2 из 32:
Увеличить