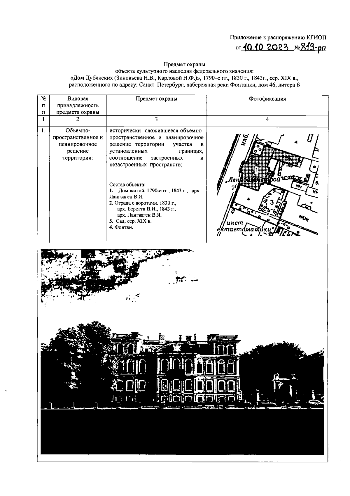
Распоряжение Комитета по государственному контролю, использованию и охране памятников истории и культуры Санкт-Петербурга от 10.10.2023 № 819-рп
"Об утверждении предмета охраны объекта культурного наследия федерального значения "Дом Дубянских (Зиновьева Н.В., Карловой Н.Ф.)"
(Зарегистрирован 11.10.2023 № 36033)
"Об утверждении предмета охраны объекта культурного наследия федерального значения "Дом Дубянских (Зиновьева Н.В., Карловой Н.Ф.)"
(Зарегистрирован 11.10.2023 № 36033)
Номер опубликования: 7801202310130004
Дата опубликования:
13.10.2023
