Официальное опубликование правовых актов
ОФИЦИАЛЬНОЕ ОПУБЛИКОВАНИЕ
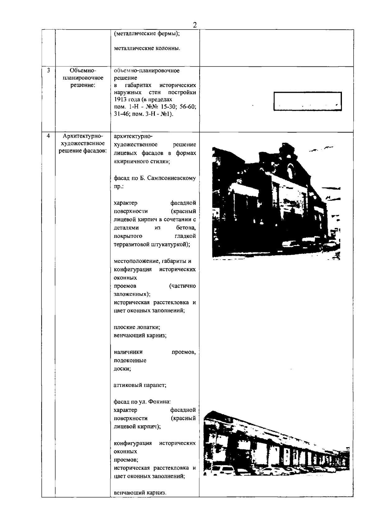
Распоряжение Комитета по государственному контролю, использованию и охране памятников истории и культуры Санкт-Петербурга от 25.09.2023 № 805-рп
"О включении выявленного объекта культурного наследия в единый государственный реестр объектов культурного наследия (памятников истории и культуры) народов Российской Федерации в качестве объекта культурного наследия регионального значения "Постройки механического завода "Людвиг Нобель" (после 1918 г. -машиностроительный завод "Русский дизель")", об утверждении границ и режима использования территории объекта культурного наследия, об утверждении предмета охраны объекта культурного наследия"
(Зарегистрирован 26.09.2023 № 35952)
Номер опубликования: 7801202309280002
Дата опубликования: 28.09.2023
Страница №8 из 10:
Увеличить