Официальное опубликование правовых актов
ОФИЦИАЛЬНОЕ ОПУБЛИКОВАНИЕ
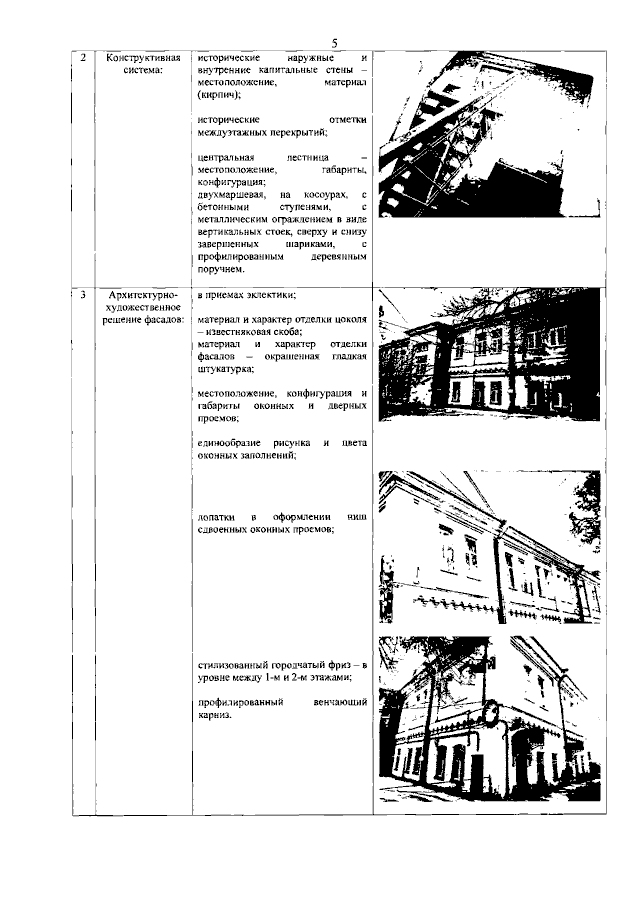
Распоряжение Комитета по государственному контролю, использованию и охране памятников истории и культуры Санкт-Петербурга от 02.08.2023 № 687-рп
"Об утверждении предмета охраны выявленного объекта культурного наследия "Богадельня и детский приют Мещанского общества"
(Зарегистрирован 03.08.2023 № 35589)
Номер опубликования: 7801202308070045
Дата опубликования: 07.08.2023
Страница №6 из 6:
Увеличить