Официальное опубликование правовых актов
ОФИЦИАЛЬНОЕ ОПУБЛИКОВАНИЕ
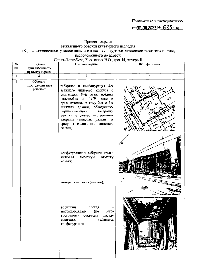
Распоряжение Комитета по государственному контролю, использованию и охране памятников истории и культуры Санкт-Петербурга от 02.08.2023 № 685-рп
"Об утверждении предмета охраны выявленного объекта культурного наследия "Здание соединенных училищ дальнего плавания и судовых механиков торгового флота"
(Зарегистрирован 03.08.2023 № 35587)
Номер опубликования: 7801202308070044
Дата опубликования: 07.08.2023
Страница №2 из 23:
Увеличить