Официальное опубликование правовых актов
ОФИЦИАЛЬНОЕ ОПУБЛИКОВАНИЕ
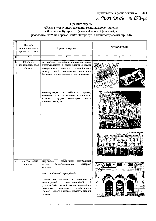
Распоряжение Комитета по государственному контролю, использованию и охране памятников истории и культуры Санкт-Петербурга от 14.07.2023 № 589-рп
"Об утверждении предмета охраны объекта культурного наследия регионального значения "Дом эмира Бухарского (лицевой дом и 5 флигелей)"
(Зарегистрирован 14.07.2023 № 35420)
Номер опубликования: 7801202307190013
Дата опубликования: 19.07.2023
Страница №2 из 42:
Увеличить