Официальное опубликование правовых актов
ОФИЦИАЛЬНОЕ ОПУБЛИКОВАНИЕ
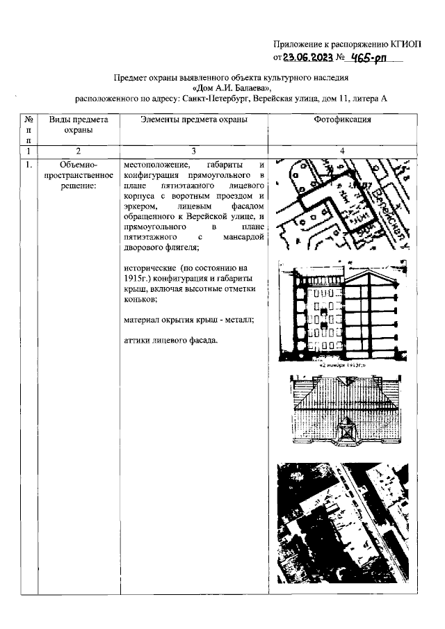
Распоряжение Комитета по государственному контролю, использованию и охране памятников истории и культуры Санкт-Петербурга от 23.06.2023 № 465-рп
"Об утверждении предмета охраны выявленного объекта культурного наследия "Дом А.И. Балаева"
(Зарегистрирован 23.06.2023 № 35210)
Номер опубликования: 7801202306260014
Дата опубликования: 26.06.2023
Страница №2 из 10:
Увеличить