Официальное опубликование правовых актов
ОФИЦИАЛЬНОЕ ОПУБЛИКОВАНИЕ
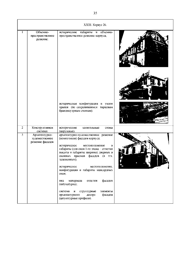
Распоряжение Комитета по государственному контролю, использованию и охране памятников истории и культуры Санкт-Петербурга от 20.06.2023 № 464-рп
"Об утверждении предмета охраны объекта культурного наследия регионального значения "Апраксин двор с Мариинским рынком (б. Щукиным двором) - комплекс"
(Зарегистрирован 20.06.2023 № 35187)
Номер опубликования: 7801202306210004
Дата опубликования: 21.06.2023
Страница №36 из 59:
Увеличить