Официальное опубликование правовых актов
ОФИЦИАЛЬНОЕ ОПУБЛИКОВАНИЕ
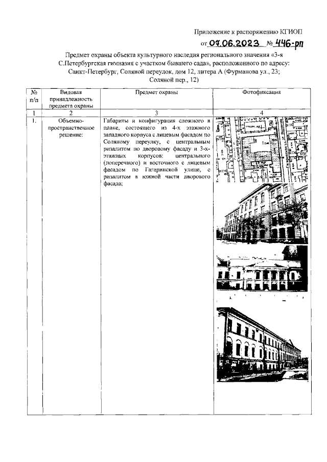
Распоряжение Комитета по государственному контролю, использованию и охране памятников истории и культуры Санкт-Петербурга от 07.06.2023 № 446-рп
"Об утверждении предмета охраны объекта культурного наследия регионального значения "3-я С.Петербургская гимназия с участком бывшего сада"
(Зарегистрирован 08.06.2023 № 35108)
Номер опубликования: 7801202306130024
Дата опубликования: 13.06.2023
Страница №2 из 35:
Увеличить