Официальное опубликование правовых актов
ОФИЦИАЛЬНОЕ ОПУБЛИКОВАНИЕ
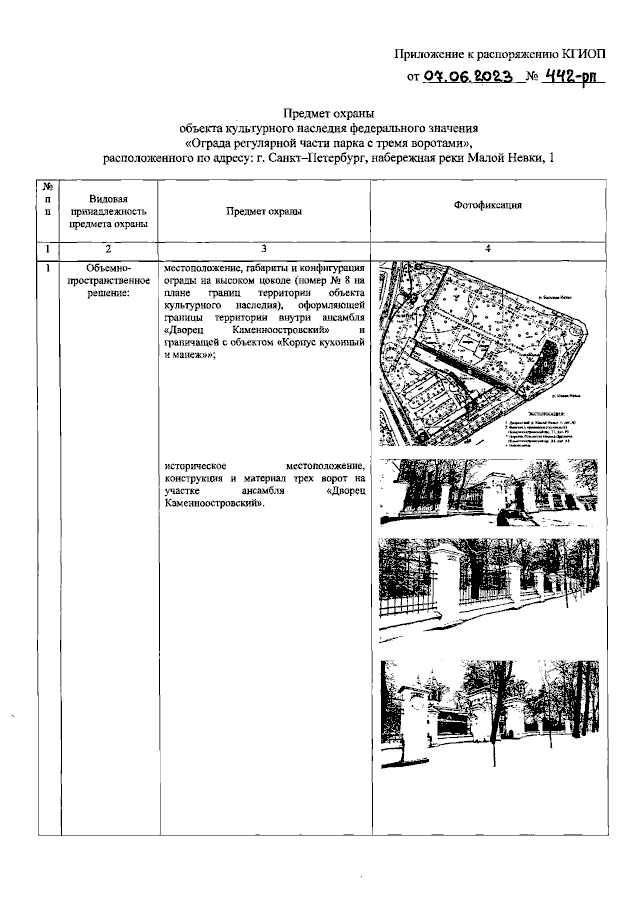
Распоряжение Комитета по государственному контролю, использованию и охране памятников истории и культуры Санкт-Петербурга от 07.06.2023 № 442-рп
"Об утверждении предмета охраны объекта культурного наследия федерального значения "Ограда регулярной части парка с тремя воротами"
(Зарегистрирован 08.06.2023 № 35104)
Номер опубликования: 7801202306130010
Дата опубликования: 13.06.2023
Страница №2 из 8:
Увеличить