Официальное опубликование правовых актов
ОФИЦИАЛЬНОЕ ОПУБЛИКОВАНИЕ
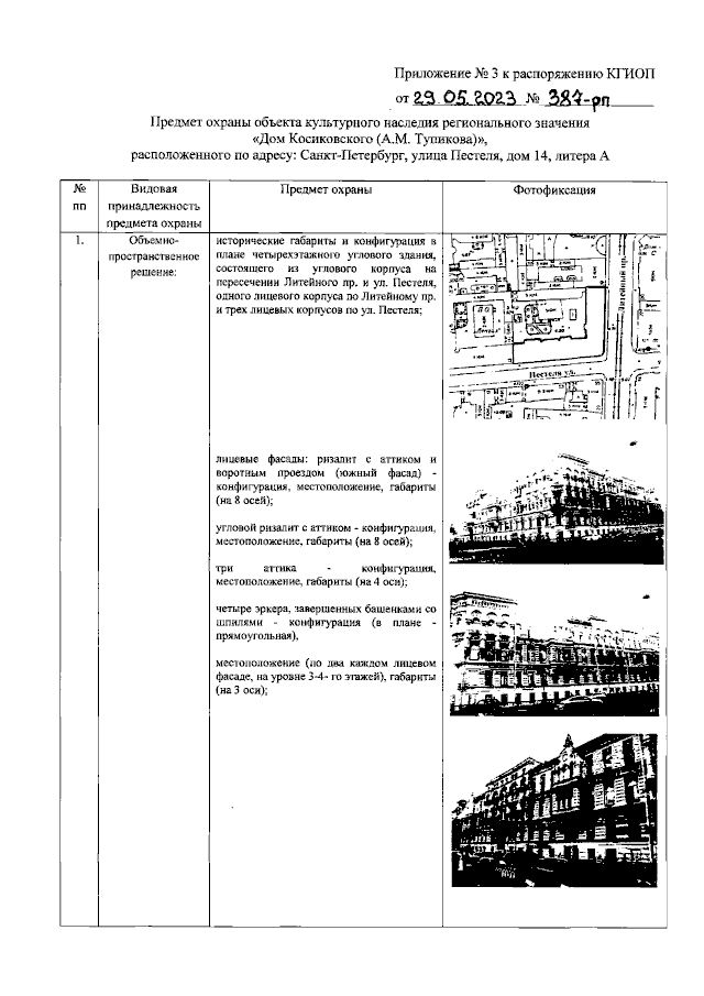
Распоряжение Комитета по государственному контролю, использованию и охране памятников истории и культуры Санкт-Петербурга от 29.05.2023 № 387-рп
"О включении выявленного объекта культурного наследия в единый государственный реестр объектов культурного наследия (памятников истории и культуры) народов Российской Федерации в качестве объекта культурного наследия регионального значения "Дом Косиковского (А.М. Тупикова)", об утверждении границ и режима использования территории объекта культурного наследия, об утверждении предмета охраны культурного наследия"
(Зарегистрирован 30.05.2023 № 34995)
Номер опубликования: 7801202306020001
Дата опубликования: 02.06.2023
Страница №7 из 18:
Увеличить