Официальное опубликование правовых актов
ОФИЦИАЛЬНОЕ ОПУБЛИКОВАНИЕ
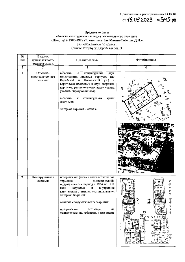
Распоряжение Комитета по государственному контролю, использованию и охране памятников истории и культуры Санкт-Петербурга от 15.05.2023 № 345-рп
"Об утверждении предмета охраны объекта культурного наследия регионального значения "Дом, где в 1908-1912 гг. жил писатель Мамин-Сибиряк Д.Н."
(Зарегистрирован 16.05.2023 № 34898)
Номер опубликования: 7801202305190002
Дата опубликования: 19.05.2023
Страница №2 из 12:
Увеличить